- 5.1 Sức chịu tải cho phép
- 5.2 Lý thuyết sức chịu tải
- 5.2.1 Cơ chế phá hoại
- 5.2.2 Các biểu thức phương trình sức chịu tải
- 5.2.3 Các hệ số hiệu chỉnh sức chịu tải
- 5.2.4 Các lưu ý bổ sung về các hệ số hiệu chỉnh sức chịu tải
- 5.2.5 Tính toán sức chịu tải
- 5.2.6 Hệ số an toàn đối với sức chịu tải
- 5.2.7 Sức chịu tải giả định (presumptive)
- 5.2.8 Sức chịu tải cho phép trên đất
- 5.2.9 Sức chịu tải cho phép trên IGM và Đá
- 5.2.10 Sức chịu tải cho phép trên khối đắp có kết cấu (structural fill) đầm chặt
- 5.2.11 Phần ứng suất vượt mức cho phép đối với ứng suất chịu tải
- 5.3 Ước tính độ lún
- 5.4 Trượt và ổn định ngang
- 5.5 Ổn định tổng thể
Thiết kế móng nông bao gồm việc xác định áp lực chịu tải cho phép sao cho: (a) duy trì được hệ số an toàn đầy đủ đối với phá hoại cắt của đất nền chịu tải; và (b) hạn chế độ lún của móng để đáp ứng các yêu cầu về khả năng sử dụng. Sức chịu tải cho phép của móng nông được định nghĩa là giá trị nhỏ hơn trong hai giá trị sau:
- Áp lực gây ra phá hoại cắt, chia cho một hệ số an toàn (FS) thích hợp; hoặc
- Áp lực gây ra một giá trị độ lún giới hạn đã được quy định.
Chương này trình bày và thảo luận cơ sở lý thuyết của việc tính toán sức chịu tải cho phép, có xét đến cả hai yêu cầu thiết kế quan trọng nêu trên.
Chương này cũng trình bày các quy trình địa kỹ thuật để tính toán sức kháng trượt của móng nông, cũng như các xem xét địa kỹ thuật cần thiết để bảo đảm móng ổn định xét theo quan điểm ổn định tổng thể, hay ổn định mái dốc.
5.1 Sức chịu tải cho phép
Về mặt lịch sử, sức chịu tải cho phép của spread footing được xác định trên cơ sở kết hợp hai xem xét thiết kế: giảm thiểu khả năng phá hoại cắt của đất và hạn chế độ võng thẳng đứng (độ lún). Cả hai xem xét thiết kế này đều là hàm của kích thước móng nhỏ hơn, thường được gọi là bề rộng móng, và ký hiệu là biến \(B\) hoặc \(B_f\). Nói chung, đối với một móng đặt trên vật liệu về cơ bản là đẳng hướng, đồng nhất, và không có chiều sâu chôn móng (tức là đặt trên bề mặt), hệ số an toàn chống lại phá hoại cắt phát triển bên dưới móng sẽ tăng khi bề rộng móng B tăng. Tuy nhiên, khi kích thước móng tăng lên, chiều sâu ảnh hưởng cũng tăng theo. Nói cách khác, khi kích thước móng B tăng, phần gia tăng ứng suất mà đất “cảm nhận” được sẽ truyền xuống sâu hơn bên dưới cao độ đặt móng.
Ảnh hưởng của bề rộng móng đến sức chịu tải và độ lún được minh họa về mặt khái niệm trong Hình 5-1. Cần lưu ý rằng sức chịu tải cho phép của móng được khống chế bởi điều kiện phá hoại cắt đối với các bề rộng móng nhỏ. Nhưng khi bề rộng móng tăng lên, sức chịu tải cho phép lại bị giới hạn bởi tiềm năng lún của lớp đất đỡ móng.

Hình 5-1: Sức chịu tải cho phép được kiểm soát bởi các cân nhắc về sự cố cắt so với các cân nhắc về độ lún
5.2 Lý thuyết sức chịu tải
Mục này trình bày lý thuyết sức chịu tải và việc áp dụng lý thuyết đó để tính toán sức chịu tải cho phép của móng nông. Các phương pháp tính toán lún được trình bày trong Mục 5.3.
Khi tải trọng được truyền qua móng xuống đất/đá nền móng, các vật liệu dưới bề mặt sẽ bị lún do biến dạng đàn hồi (tức thời) và do quá trình consolidation dài hạn (biến dạng đàn hồi và/hoặc dẻo) của nền đất. Móng sẽ xuyên vào đất/đá nền móng khi cường độ tải trọng tác dụng lớn đến mức vượt quá khả năng chịu tải của vật liệu nền móng. Phá hoại nền móng sẽ xảy ra khi móng xuyên quá mức vào nền đất hoặc bị xoay quá mức (Hình 5-2). Các chuyển động quá mức của móng, như xuyên lún và xoay của móng, có thể gây hư hỏng kết cấu hoặc sập công trình. Phá hoại do chuyển vị thẳng đứng và chuyển vị ngang của đất nền móng gây ra bởi sự thiếu hụt sức kháng đầy đủ được gọi là “phá hoại sức chịu tải”. Tải trọng gây ra dạng sập đổ dưới bề mặt này được gọi là “sức chịu tải tới hạn” của đất.

(Vesic, 1975, trích từ Tschebotarioff, 1951)
5.2.1 Cơ chế phá hoại
5.2.1.1 Phá hoại cắt tổng quát (General Shear)
Các điều kiện động học (trạng thái biến dạng) hình thành khi một môi trường đất không trọng lượng, cứng-dẻo đồng nhất (có lực dính \(c’\) và góc ma sát \(\phi’\)) đạt đến sức chịu tải tới hạn đã được Prandtl (1920) và Reissner (1924) xác định bằng lý thuyết. Khi một móng chịu tải đến mức sức chịu tải tới hạn, trạng thái chảy dẻo của đất nền móng sẽ phát triển.
Terzaghi và Peck (1948) tiếp tục xác định các vùng cân bằng dẻo sau khi đất bên dưới móng băng (continuous footing) bị phá hoại (Hình 5-3). Như thể hiện ở Hình 5-3, một nêm tam giác bên dưới móng, ký hiệu là Vùng I, vẫn ở trạng thái đàn hồi và chuyển động đi xuống vào trong đất cùng với móng. Biến dạng cắt hướng tâm phát triển trong Vùng II sao cho các đường hướng tâm kéo dài từ mép móng thay đổi chiều dài theo một đường xoắn logarith cho đến khi mặt phá hoại đạt tới Vùng III. Một trạng thái bị động phát triển trong Vùng III theo một góc \(45^\circ – (\phi’/2)\) so với phương ngang. Cấu hình phá hoại sức chịu tải tới hạn này, với các mặt trượt phát triển rõ rệt và kéo dài đến mặt đất, kèm theo sự xoay của móng và hiện tượng đất trồi lên ở cả hai phía của móng, được gọi là “phá hoại cắt tổng quát” (general shear). Các phá hoại sức chịu tải tới hạn kiểu cắt tổng quát (Hình 5-4a) được xem là dạng phá hoại chi phối đối với các loại đất tương đối khó nén lún và có cường độ khá, hoặc đối với các đất sét cố kết tiêu chuẩn (normally consolidated) bão hòa chịu tải nhanh đến mức điều kiện không thoát nước chi phối, và do đó sức kháng cắt không thoát nước quyết định ứng xử phá hoại (Coduto, 1994).

đất dưới móng băng (continuous footing) bị phá hoại.

(a) Cắt tổng quát (General Shear);
(b) Cắt cục bộ (Local Shear);
(c) Đâm thủng (Punching Shear).
5.2.1.2 Phá hoại cắt cục bộ (Local Shear)
Trong một số trường hợp, các mặt trượt phá hoại sức chịu tải không phát triển rõ ràng, và các mặt phá hoại không kéo dài đến tận mặt đất. Dạng phá hoại sức chịu tải tới hạn này (Hình 5-4b) được gọi là “phá hoại cắt cục bộ” (local shear). Dạng biến dạng trong phá hoại cắt cục bộ bao gồm sự nén thẳng đứng của đất bên dưới móng (Vesic, 1975), hiện tượng đất trồi lên ở mặt đất, và về cơ bản hầu như không có sự xoay hoặc nghiêng của móng. Phá hoại cắt cục bộ có thể xảy ra trong các loại đất tương đối rời hoặc mềm khi so với các loại đất dễ xảy ra phá hoại cắt tổng quát.
5.2.1.3 Phá hoại đâm thủng (Punching Shear)
Một dạng phá hoại khác quan sát được dưới điều kiện sức chịu tải tới hạn là sự nén thẳng đứng của đất bên dưới móng mà không kèm theo hiện tượng đất trồi lên. Như minh họa ở Hình 5-4c, tải trọng chịu đựng liên tục tăng khi móng chịu tải trong điều kiện biến dạng khống chế (thí nghiệm ở độ sâu lớn hơn). Dạng phá hoại sức chịu tải tới hạn này được gọi là “phá hoại đâm thủng” (punching shear). Phá hoại đâm thủng được xem là một dạng phá hoại tiềm tàng đối với móng nông khi các lớp đất rời hoặc đất có tính nén lún cao chịu tải chậm trong điều kiện thoát nước. Ví dụ, các móng đặt ở độ sâu lớn trên cát chặt hoặc trên lớp cát chặt phủ trên lớp đất mềm, dễ nén lún có thể bị phá hoại theo cơ chế đâm thủng. Móng đặt trên đất sét mềm cũng có thể bị phá hoại theo cơ chế đâm thủng nếu chịu tải chậm.
Cần lưu ý rằng, xét từ góc độ thiết kế móng cầu, các loại đất yếu đến mức rõ ràng có thể xảy ra phá hoại cắt cục bộ hoặc đâm thủng cần phải tránh khi dùng để đỡ móng nông. Hướng dẫn bổ sung về cách xử lý các loại đất nằm trong vùng ứng xử trung gian, hay trong phạm vi ứng xử cắt cục bộ, được trình bày tại Mục 5.2.3.6.
5.2.2 Các biểu thức phương trình sức chịu tải
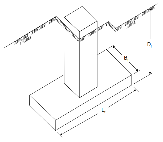
Áp lực sức chịu tải tới hạn toàn phần tương đương với ứng suất do móng truyền xuống nền đất tại cao độ đặt móng trong điều kiện tới hạn (phá hoại). Trong các biểu thức lý thuyết, Prandtl (1920) và Reissner (1924) đã phát triển một biểu thức cho sức chịu tải tới hạn toàn phần, trong đó xét đến cả thành phần ma sát và lực dính của sức kháng cắt của đất, cũng như áp lực phủ phân bố đều tại đáy móng do chiều sâu chôn móng, \(D_f\). Áp lực sức chịu tải tới hạn toàn phần \((q_\text{ult gross})\) trong trường hợp này là:
\[
q_\text{ult gross}=c(N_c)+q(N_q) \tag{5-1}
\]
trong đó:
\( \qquad \qquad c = \) lực dính của đất
\( \qquad \qquad q = \gamma D_f = \) áp lực phủ tại đáy móng
\( \qquad \qquad \gamma = \) dung trọng của lớp đất phủ gây ra áp lực phủ
\( \qquad \qquad D_f = \) chiều sâu chôn móng (Hình 5-5)
\( \qquad \qquad N_q = \) hệ số sức chịu tải ứng với thành phần áp lực phủ:
\(N_q = e^{\pi \tan \phi}\tan^2\left(45^\circ+\dfrac{\phi}{2}\right) \tag{5-2}\)

\( \qquad \qquad N_c = \) hệ số sức chịu tải cho thành phần dính kết:
\(N_c=(N_q-1)\cot\phi \quad \text{cho } \phi>0^\circ \tag{5-3}\)
\(N_c=2+\pi=5.14 \quad \text{cho } \phi=0^\circ \tag{5-4}\)
Áp lực sức chịu tải tới hạn hữu hiệu (net ultimate bearing pressure) là hiệu giữa áp lực sức chịu tải tới hạn toàn phần và áp lực đã tồn tại do lớp phủ tại độ sâu đặt móng trước khi thi công móng, q \((=\gamma D_f)\). Do đó, áp lực sức chịu tải tới hạn hữu hiệu có thể được tính bằng cách trừ áp lực phủ (q) khỏi Phương trình 5-1:
\( q_\text{ult net}=q_\text{ult gross}-q \tag{5-5}\)
\(q_\text{ult net}=cN_c+q(N_q-1)\tag{5-6}\)
Xét từ Phương trình 5-6, chênh lệch thực tế giữa \(q_\text{ult net}\) và \(q_\text{ult gross}\) nhìn chung là nhỏ đối với đất không dính (tức là, \(\phi > 0^\circ\)).
Ngoài ra, kỹ sư kết cấu thường sẽ tính cả tự trọng của móng bê tông và phần đất đắp trên móng (xấp xỉ bằng \(\gamma’ D_f)\) vào các tải trọng góp phần tạo nên áp lực chịu tải tác dụng. Do đó, nếu kỹ sư địa kỹ thuật tính toán và báo cáo áp lực sức chịu tải tới hạn hữu hiệu, thì ảnh hưởng của áp lực phủ trực tiếp phía trên diện tích móng sẽ bị tính hai lần. Cách này là thiên về an toàn, nhưng nhìn chung không được khuyến nghị, miễn là vẫn duy trì hệ số an toàn thích hợp chống phá hoại sức chịu tải. Nếu kỹ sư địa kỹ thuật lựa chọn báo cáo sức chịu tải cho phép được tính từ áp lực sức chịu tải tới hạn hữu hiệu, thì điều này cần được nêu rõ trong báo cáo nền móng.
Vì vậy, khuyến nghị nên sử dụng \(q_\text{ult gross}\) trong việc xác định sức chịu tải cho phép của đất (ví dụ, \(q_\text{ult} \approx q_\text{ult gross})\).
Không có nghiệm giải tích nào để mở rộng các phương trình sức chịu tải nhằm xét đến ảnh hưởng của dung trọng vật liệu nền móng. Nhiều nhà nghiên cứu đã đề xuất các quan hệ để kể đến dung trọng này. Các quan hệ đó liên quan đến việc bổ sung một hạng tử độc lập \((N_\gamma)\) vào phương trình sức chịu tải tới hạn toàn phần. Các phân tích được xây dựng trên cơ sở giả định hình dạng của các mặt phá hoại và thực hiện các phân tích thử dần cho đến khi thu được nghiệm. Khi đó, phương trình sức chịu tải tới hạn toàn phần đã hiệu chỉnh cho trường hợp strip footing chịu tải đúng tâm, đặt trên vật liệu nền có dung trọng, có dạng:
\(q_\text{ult}=c(N_c)+q(N_q)+0.5(\gamma)(B_f)(N_\gamma) \tag{5-7}\)
trong đó:
\(\qquad \qquad c = \) lực dính của đất
\(\qquad \qquad N_c = \) hệ số sức chịu tải ứng với thành phần lực dính
\(\qquad \qquad q = \) áp lực phủ tại đáy móng
\(\qquad \qquad N_q = \) hệ số sức chịu tải ứng với thành phần áp lực phủ
\(\qquad \qquad B_f = \) bề rộng móng
\(\qquad \qquad \gamma = \) dung trọng của đất bên dưới móng
\(\qquad \qquad N_\gamma = \) hệ số sức chịu tải ứng với dung trọng đất
Lưu ý rằng nhiều tác giả đã đề xuất một khoảng giá trị cho \(N_\gamma\). Sự khác biệt do các nhà nghiên cứu khác nhau báo cáo dao động từ khoảng một nửa đến gấp đôi các giá trị trình bày dưới đây, tùy thuộc vào góc ma sát được chọn cho thiết kế (Chen & McCarron, 1991). Phương trình của Caquot và Kerisel (1948) đối với \(N_\gamma\) hiện đang được FHWA và AASHTO sử dụng:
\(N_\gamma = 2(N_q + 1)\tan(\phi) \tag{5-8}\)
Các giá trị của \(N_c\), \(N_q\) và \(N_\gamma\) theo hàm của góc ma sát được trình bày trong Bảng 5-1 và Hình 5-6.
Từ Phương trình 5-7 có thể thấy rằng sức chịu tải tới hạn của đất là hàm của sức kháng dính và sức kháng ma sát của đất (\(c\) và \(\phi\)), trọng lượng hữu hiệu của đất phía trên và phía dưới móng (\(\gamma\) hoặc \(\gamma’\)), cũng như chiều sâu chôn móng và bề rộng móng (\(D_f\) và \(B_f\)). Xét ảnh hưởng của từng biến này đến sức chịu tải tới hạn tính toán. Đối với đất dính (tức là, \(\phi = 0\), chịu tải không thoát nước), hạng tử cuối cùng bằng không và hạng tử đầu tiên là một hằng số. Do đó, sức chịu tải tới hạn sẽ chỉ là hàm của lực dính và chiều sâu chôn móng.
Ngược lại, đất không dính sẽ có sự thay đổi lớn về sức chịu tải tới hạn khi các tính chất và/hoặc kích thước thay đổi. Ảnh hưởng của chiều sâu chôn móng là đặc biệt quan trọng. Việc mất đất phía trên một móng chôn, do đào đất hoặc do xói, có thể làm giảm đáng kể sức chịu tải và gây lún sụt móng. Tương tự, khi mực nước ngầm dâng lên đến mặt đất, dung trọng hữu hiệu (nổi) của đất sẽ giảm, từ đó làm giảm các hạng tử là hàm của dung trọng xuống còn xấp xỉ một nửa.
Bảng 5-1: Hệ số sức chịu tải (AASHTO, 1996)
| ϕ | Nc | Nq | Nγ | ϕ | Nc | Nq | Nγ |
|---|---|---|---|---|---|---|---|
| 0 | 5.14 | 1.0 | 0.0 | 23 | 18.1 | 8.7 | 8.2 |
| 1 | 5.4 | 1.1 | 0.1 | 24 | 19.3 | 9.6 | 9.4 |
| 2 | 5.6 | 1.2 | 0.2 | 25 | 20.7 | 10.7 | 10.9 |
| 3 | 5.9 | 1.3 | 0.2 | 26 | 22.3 | 11.9 | 12.5 |
| 4 | 6.2 | 1.4 | 0.3 | 27 | 23.9 | 13.2 | 14.5 |
| 5 | 6.5 | 1.6 | 0.5 | 28 | 25.8 | 14.7 | 16.7 |
| 6 | 6.8 | 1.7 | 0.6 | 29 | 27.9 | 16.4 | 19.3 |
| 7 | 7.2 | 1.9 | 0.7 | 30 | 30.1 | 18.4 | 22.4 |
| 8 | 7.5 | 2.1 | 0.9 | 31 | 32.7 | 20.6 | 26.0 |
| 9 | 7.9 | 2.3 | 1.0 | 32 | 35.5 | 23.2 | 30.2 |
| 10 | 8.4 | 2.5 | 1.2 | 33 | 38.6 | 26.1 | 35.2 |
| 11 | 8.8 | 2.7 | 1.4 | 34 | 42.2 | 29.4 | 41.1 |
| 12 | 9.3 | 3.0 | 1.7 | 35 | 46.1 | 33.3 | 48.0 |
| 13 | 9.8 | 3.3 | 2.0 | 36 | 50.6 | 37.8 | 56.3 |
| 14 | 10.4 | 3.6 | 2.3 | 37 | 55.6 | 42.9 | 66.2 |
| 15 | 11.0 | 3.9 | 2.7 | 38 | 61.4 | 48.9 | 78.0 |
| 16 | 11.6 | 4.3 | 3.1 | 39 | 67.9 | 56.0 | 92.3 |
| 17 | 12.3 | 4.8 | 3.5 | 40 | 75.3 | 64.2 | 109.4 |
| 18 | 13.1 | 5.3 | 4.1 | 41 | 83.9 | 73.9 | 130.2 |
| 19 | 13.9 | 5.8 | 4.7 | 42 | 93.7 | 85.4 | 155.6 |
| 20 | 14.8 | 6.4 | 5.4 | 43 | 105.1 | 99.0 | 186.5 |
| 21 | 15.8 | 7.1 | 6.2 | 44 | 118.4 | 115.3 | 224.6 |
| 22 | 16.9 | 7.8 | 7.1 | 45 | 133.9 | 134.9 | 271.8 |

(hệ số sức chịu tải theo AASHTO LRFD)
“bảng 5-1 (AASHTO, 1996)” kiểu \(N_c, N_q, N_\gamma \ theo \ \phi \) thuộc hệ Standard Specifications cũ. Bản tương đương của AASHTO 1996 là Table 4.4.7.1A – Bearing Capacity Factors trong Standard Specifications for Highway Bridges (HB-16/17). (Scribd)
Từ khi AASHTO chuyển sang LRFD Bridge Design Specifications (đang mới nhất: 2024), bảng số kiểu đó không còn giữ nguyên; LRFD yêu cầu tính sức chịu tải bằng phương trình ở Article 10.6.3.1.2 và dùng các hệ số hiệu chỉnh (shape, inclination, groundwater, v.v.) trong các bảng/biểu kèm theo (ví dụ tài liệu hướng dẫn của Caltrans dẫn rõ: “tính theo AASHTO 10.6.3.1.2”, và nhiều hướng dẫn trích Table 10.6.3.1.2a-… / 10.6.3.1.2c-1). (Caltrans)
Nếu bạn cần “phiên bản mới hơn” của bảng số để tra nhanh:
- Dùng HB-17 (2002) – vẫn còn bảng Nc, Nq, Nγ như 1996. (Scribd)
- Hoặc dùng tài liệu LRFD/NCHRP tổng hợp các hệ số theo LRFD hiện hành (ví dụ NCHRP 651 và trình bày FDOT dựa trên AASHTO 2016 cho công thức 10.6.3.1.2). (onlinepubs.trb.org)
Tóm lại: có bản mới (HB-17) cho hệ SLD cũ; còn theo tiêu chuẩn đang áp dụng thì tra LRFD Article 10.6.3.1.2 thay vì bảng 5-1. (Caltrans)
5.2.3 Các hệ số hiệu chỉnh sức chịu tải
Có nhiều yếu tố ảnh hưởng đến sức chịu tải tới hạn của móng nông nhưng chưa được xét đến trong các phép khai triển trình bày trước đó. Cần lưu ý rằng Phương trình 5-7 giả định strip footing cứng (continuous footing) chịu tải đúng tâm, đặt trên bề mặt phẳng của một nền đất đồng nhất. Nhiều nhà nghiên cứu đã đề xuất các hệ số hiệu chỉnh khác nhau để xét đến hình dạng móng, vị trí mực nước ngầm, chiều sâu chôn móng, bề mặt đất dốc, đáy móng nghiêng, dạng phá hoại cắt (cắt cục bộ hoặc đâm thủng), tải trọng nghiêng và tính nén lún của đất. Quan điểm chung trong việc hiệu chỉnh sức chịu tải tới hạn là sử dụng các hệ số bán thực nghiệm, được nhân với từng hạng tử trong ba hạng tử của phương trình sức chịu tải để xét đến ảnh hưởng cụ thể đang xem xét. Mỗi hệ số hiệu chỉnh đều có chỉ số dưới thể hiện hạng tử mà hệ số đó được áp dụng: “c” cho hạng tử lực dính, “\(\gamma\)” cho hạng tử dung trọng (bề rộng móng), và “q” cho hạng tử áp lực phủ (chiều sâu chôn móng). Từng hệ số này và khuyến nghị áp dụng của chúng được trình bày riêng ở các mục dưới đây. Trong một số, nhưng không phải tất cả, các trường hợp, các hệ số này cần được sử dụng kết hợp với nhau. Các mục sau trình bày hướng dẫn về cách sử dụng các hệ số này, cũng như việc có nên hay không nên dùng đồng thời một số hệ số nhất định.
5.2.3.1 Hình dạng móng
Hướng dẫn của AASHTO phân biệt móng dải (strip footing) là móng có chiều dài \(L_f\) lớn hơn năm lần bề rộng \(B_f\). Cần hiệu chỉnh sức chịu tải tới hạn cho móng chữ nhật khi tỷ số \(L_f/B_f < 5\). Các hệ số hiệu chỉnh theo hình dạng (đồng thời bao hàm ảnh hưởng lệch tâm) được tóm tắt ở Bảng 5-2.
Lưu ý: đối với móng chịu tải lệch tâm, AASHTO (1996) khuyến nghị dùng kích thước hiệu dụng của móng, \(B′_f\) và \(L′_f\), để tính các hệ số hiệu chỉnh hình dạng (xem Mục 6.4.1 về lệch tâm và kích thước hiệu dụng). Tuy nhiên, trong thiết kế thường ngày điều này không thực tế, vì kích thước hiệu dụng sẽ thay đổi theo các tổ hợp tải trọng khác nhau, và khác biệt trong hệ số hiệu chỉnh hình dạng tính ra thường nhỏ. Do đó, kỹ sư địa kỹ thuật nên giả định hợp lý về hình dạng/kích thước móng và tính hệ số hiệu chỉnh theo Bảng 5-2.
Bảng 5-2: Hệ số hiệu chỉnh hình dạng (AASHTO 1996)
| Yếu tố | Góc ma sát \(\phi\) | Hệ số cho thành phần lực dính \(s_c\) | Hệ số cho thành phần trọng lượng riêng \(s_\gamma\) | Hệ số cho thành phần tải phủ \(s_q\) |
|---|---|---|---|---|
| Hệ số hình dạng \(s_c, s_γ, s_q\) | \(\phi = 0\) | \(1 + \dfrac{B_f}{5 L_f}\) | \( 1.0 \) | \(1.0 \) |
| \(\phi > 0\) | \(1 + \dfrac{B_f}{L_f}\dfrac{N_q}{N_c}\) | \(1 – 0.4\dfrac{B_f}{L_f} \) | \(1 + \dfrac{B_f}{L_f}\tan\phi \) |
Ghi chú: Các hệ số hình dạng (lệch tâm) s không áp dụng đồng thời với các hệ số tải nghiêng i. Xem Mục 5.2.3.7.
5.2.3.2 Vị trí mực nước ngầm
Nếu mực nước ngầm nằm trong vùng phá hoại cắt tiềm năng ở phía trên hoặc phía dưới móng, thì ứng suất hữu hiệu sẽ chi phối độ lớn của ứng suất phủ, và do đó chi phối sức kháng cắt dọc theo phần mặt phá hoại cắt nằm bên dưới mực nước ngầm.
Một phương pháp đơn giản để xét đến sự suy giảm sức kháng cắt là áp dụng các hệ số hiệu chỉnh cho hai hạng tử trong phương trình sức chịu tải có chứa trọng lượng thể tích. Cần lưu ý rằng hạng tử lực dính không phải là hàm của trọng lượng thể tích của đất cũng như của ứng suất hữu hiệu. Các hệ số này có thể được xác định theo các phương trình sau, hoặc bằng cách nội suy giữa các giá trị trong Bảng 5-3.
\(C_{W\gamma}=0.5+0.5\left(\dfrac{D_W}{1.5B_f+D_f}\right)\le 1.0 \tag{5-9} \)
\(C_{Wq}=0.5+0.5\left(\dfrac{D_W}{D_f}\right)\le 1.0 \tag{5-10} \)
(giải thích ngắn \(C_{W\gamma}\), \(C_{Wq}\))
\(C_{W\gamma}\): hệ số hiệu chỉnh cho hạng tử chứa \(\gamma\), dùng để xét ảnh hưởng của mực nước ngầm đến phần sức chịu tải liên quan đến trọng lượng thể tích của đất.
\(C_{Wq}\): hệ số hiệu chỉnh cho hạng tử chứa \(q\), dùng để xét ảnh hưởng của mực nước ngầm đến tải phủ hữu hiệu tại cao độ đáy móng.
Khi mực nước ngầm càng gần vùng phá hoại cắt, ứng suất hữu hiệu càng giảm, nên các hệ số này càng làm giảm phần đóng góp tương ứng vào sức chịu tải.
Giới hạn \( \le 1.0 \) cho thấy các hệ số này chỉ có tác dụng giảm chứ không làm tăng sức chịu tải
Bảng 5-3: Hệ số hiệu chỉnh theo vị trí mực nước ngầm (AASHTO, 1998)
| Độ sâu mực nước ngầm, \(D_W\) | \(C_{W\gamma}\) | \(C_{Wq}\) |
|---|---|---|
| \(D_W = 0\) | 0.5 | 0.5 |
| \(D_W = D_f\) | 0.5 | 1.0 |
| \(D_W > 1.5B_f + D_f\) | 1.0 | 1.0 |
Ghi chú: Với các vị trí trung gian của mực nước ngầm, nội suy giữa các giá trị trên hoặc dùng các Phương trình (5-9) và (5-10).
5.2.3.3 Chiều sâu chôn móng
Vì hạng tử tải phủ, q, được thiết lập bằng cách xét ảnh hưởng của nó đến sức chịu tải như một áp lực thẳng đứng tác dụng tại cao độ đáy móng, nên trong cơ sở lý thuyết đã bỏ qua ảnh hưởng của sức kháng cắt phát sinh khi mặt phá hoại đi qua lớp đất phủ trong phạm vi chiều sâu chôn móng. Nếu đất đắp hoặc lớp phủ phía trên móng là vật liệu hạt chất lượng cao, được đầm chặt tốt, và có thể tin cậy giả định rằng vật liệu này sẽ duy trì ổn định tại chỗ trong suốt tuổi thọ công trình, thì phần sức kháng cắt bổ sung này có thể được xét đến thông qua việc bổ sung hệ số chiều sâu chôn móng \(d_q\), như nêu trong Bảng 5-4. Ngược lại, có thể bỏ qua một cách bảo thủ hệ số hiệu chỉnh theo chiều sâu này.
Bảng 5-4: Hệ số hiệu chỉnh theo chiều sâu \(d_q\) (Brinch Hansen, 1970)
| Góc ma sát, ϕ (độ) |
Df/Bf | dq |
|---|---|---|
| 32 | 1 | 1.20 |
| 2 | 1.30 | |
| 4 | 1.35 | |
| 8 | 1.40 | |
| 37 | 1 | 1.20 |
| 2 | 1.25 | |
| 4 | 1.30 | |
| 8 | 1.35 | |
| 42 | 1 | 1.15 |
| 2 | 1.20 | |
| 4 | 1.25 | |
| 8 | 1.30 |
Ghi chú: Hệ số hiệu chỉnh theo chiều sâu chỉ nên được sử dụng khi các lớp đất phía trên cao độ chịu tải của móng có năng lực chịu lực tương đương với các lớp đất bên dưới cao độ đáy móng; nếu không, hệ số hiệu chỉnh theo chiều sâu phải được lấy bằng 1.0.
5.2.3.4 Bề mặt nền có dạng mái dốc
Việc bố trí móng trên mái dốc hoặc gần mái dốc đòi hỏi người thiết kế phải thực hiện các tính toán nhằm bảo đảm rằng cả sức chịu tải của móng và ổn định tổng thể của mái dốc đều thỏa mãn yêu cầu. Phương trình sức chịu tải dùng trong thiết kế móng cần bao gồm các hệ số hiệu chỉnh do AASHTO khuyến nghị, được điều chỉnh từ NAVFAC (1986b). Việc tính toán ổn định tổng thể được trình bày trong Mục 5.5.
Do đó, phương trình sức chịu tải cực hạn (Phương trình 5-7) được hiệu chỉnh để bao gồm các hạng tử \(N_{cq}\) và \(N_{\gamma q}\), thay cho các hạng tử \(N_c\) và \(N_{\gamma}\) tương ứng (Phương trình 5-11).
\(q_{ult}=c(N_{cq})+0.5(\gamma)(B_f)(N_{\gamma q}) \tag{5-11} \)
Các biểu đồ được cung cấp trong Hình 5-7 để xác định các hạng tử này đối với đất dính (\(\phi = 0^\circ\)) và đất rời (\(c = 0\)). Lưu ý trong Hình 5-7d rằng khi khoảng cách (b) lớn hơn từ 2 đến 6 lần bề rộng móng, sức chịu tải sẽ không còn phụ thuộc vào góc dốc của mái, tức là giống với trường hợp bề mặt nền nằm ngang. Cũng cần lưu ý rằng hạng tử xét đến chiều sâu chôn móng được lấy bằng không, vì ảnh hưởng của tải phủ ở phía mái dốc của móng cần được bỏ qua.
Các dạng khác của phương trình cũng có thể áp dụng cho đất dính (\(\phi = 0^\circ\)). Tuy nhiên, do các móng đặt trên đất dính và gần mái dốc thường bị khống chế trong thiết kế bởi độ lún, ổn định mái dốc, hoặc đồng thời bởi cả hai, nên các phương trình này không được trình bày ở đây. Người đọc được khuyến nghị tham khảo NHI Shallow Foundations Workshop Reference Manual (Munfakh và nnk., 2000) hoặc các tài liệu NAVFAC DM-7 (1986a, 1986b) để xem phần trình bày chi tiết về các phương trình này, cũng như phạm vi áp dụng và các hạn chế của chúng.
(tài liệu thay thế NAVFAC DM-7 (1986a, 1986b)
DM 7.1
- Tên: Soil Mechanics
- Nội dung chính: cơ học đất nền tảng, tính chất đất, thấm, ứng suất hữu hiệu, nén lún, sức kháng cắt, khảo sát và các nguyên lý địa kỹ thuật cơ bản. (Hướng dẫn Thiết kế Tòa nhà Toàn diện)
DM 7.2
- Tên: Foundations and Earth Structures
- Nội dung chính: áp dụng các nguyên lý đó vào thiết kế nền móng và công trình đất như móng nông, móng sâu, tường chắn, ổn định mái dốc, nền đắp, áp lực đất, v.v. (Hướng dẫn Thiết kế Tòa nhà Toàn diện)
Quan hệ giữa hai tài liệu
- Hiểu đơn giản: DM 7.1 là phần “nguyên lý/cơ sở”, còn DM 7.2 là phần “thiết kế/ứng dụng”. Vì vậy khi đọc chương về sức chịu tải, độ lún, mái dốc hay tường chắn trong DM 7.2, nền tảng lý thuyết thường nằm ở DM 7.1. Đây cũng là cách hệ UFC hiện nay vẫn giữ lại cấu trúc DM 7.1 và DM 7.2 trong tên gọi tài liệu.
UFC 3-220-20
- Tên hiện hành: UFC 3-220-20 Foundations and Earth Structures (DM 7.2)
- Nghĩa là: đây là phiên bản UFC hiện đại hóa của DM 7.2, hiện đang ở trạng thái Active, xuất bản ngày 16/01/2025, khoảng 724 trang trên WBDG.
Còn DM 7.1 hiện nay là gì
- Tài liệu tương ứng hiện hành là UFC 3-220-10 Soil Mechanics (DM 7.1). WBDG đang liệt kê bản hiện hành của tài liệu này dưới hệ UFC.
Nên dùng tài liệu nào
- Nếu bạn cần dịch, tra công thức, biểu đồ cổ điển mà tài liệu FHWA/AASHTO cũ đang dẫn, thì DM 7.1 / DM 7.2 rất hữu ích vì nhiều tài liệu Mỹ đời cũ viện dẫn trực tiếp chúng. (Cục Quản lý Đường bộ Liên bang)
- Nếu bạn muốn bản chính thức đang có hiệu lực, nên ưu tiên:
- UFC 3-220-10 cho phần cơ học đất
- UFC 3-220-20 cho phần nền móng và công trình đất.
Dạng phương trình có bao gồm hạng tử bề rộng đối với đất rời hữu ích trong thiết kế các móng được xây dựng trong nền đắp đường đầu cầu. Trình tự tính toán như sau:
- Xác định \(N_{\gamma q}\) từ Hình 5-7(c) hoặc 5-7(f) và tính sức chịu tải cực hạn theo Phương trình 5-11, hoặc theo dạng tổng quát của biểu thức sức chịu tải là Phương trình 5-14, trong đó hạng tử \(N_{\gamma}\) được thay bằng \(N_{\gamma q}\).


(theo Meyerhof, 1957; trích từ AASHTO, 1996)
5.2.3.5 Đáy móng nghiêng (Inclined Base)
Nói chung, nên tránh sử dụng móng có đáy nghiêng; hoặc nếu sử dụng thì chỉ nên giới hạn ở các độ nghiêng nhỏ, \( \alpha \), khoảng nhỏ hơn 8 đến 10 độ so với phương ngang. Các độ nghiêng lớn hơn có thể đòi hỏi phải bố trí then, chốt neo hoặc neo để bảo đảm đủ khả năng chống trượt. Nếu đáy móng nghiêng so với phương ngang, phương trình sức chịu tải cần được hiệu chỉnh bằng các hệ số xác định theo Bảng 5-5.
Bảng 5-5: Hệ số hiệu chỉnh đáy nghiêng (Brinch Hansen, 1970)
| Hệ số | Góc ma sát | Hạng tử lực dính (c) |
Hạng tử trọng lượng thể tích (\(\gamma\)) |
Hạng tử tải phủ (q) |
|---|---|---|---|---|
| Hệ số hiệu chỉnh do đáy móng nghiêng, bc, bγ, bq |
bc | bγ | bq | |
| ϕ = 0 | \(1 \ – \ \dfrac{\alpha}{147.3}\) | 1.0 | 1.0 | |
| ϕ > 0 | \(b_q \ – \ \dfrac{1-b_q}{N_c tan\phi}\) | (1 − 0.017α tanϕ)2 | (1 − 0.017α tanϕ)2 |
Định nghĩa: ϕ = góc ma sát, độ; α = độ nghiêng của móng so với phương ngang, dốc lên lấy dấu dương, độ.
5.2.3.6 Phá hoại cắt cục bộ hoặc đâm thủng
Nhiều tài liệu tham khảo, trong đó có AASHTO, khuyến nghị giảm các tham số sức kháng của đất nếu có khả năng xảy ra các dạng phá hoại cắt cục bộ hoặc đâm thủng. Hình 5-8 trình bày các điều kiện mà tại đó các dạng phá hoại này có thể phát triển. Các mức giảm được khuyến nghị được nêu trong Phương trình 5-12 và 5-13.
\(c^{*}=0.67c \tag{5-12}\)
\(\phi^{*}=\tan^{-1}(0.67\tan\phi) \tag{5-13}\)

Hình 5-8: Các dạng phá hoại của mô hình móng trong cát
(theo Vesic, 1975)
Các loại đất có thể phát triển các dạng phá hoại cắt cục bộ hoặc đâm thủng bao gồm:
– cát rời, đất sét rất nhạy [\(S_t > 8\), độ nhạy được định nghĩa là tỷ số giữa cường độ nén không nở hông của mẫu nguyên dạng và cường độ nén không nở hông của mẫu nhào trộn lại (Terzaghi & Peck, 1967)];
– cát và bụi ở trạng thái giả ổn định (metastable) (dễ sụt lún; xem Mục 3.1.1); và
– đất sét giòn (OCR > 4 đến 8; xem Mục 5.3.3 để thảo luận về OCR).
Đây đều là các điều kiện nền đất “có vấn đề”, cần được nhận diện thông qua khảo sát địa kỹ thuật đầy đủ như đã mô tả trong Chương 4. Nói chung, các loại đất có vấn đề này sẽ có những đặc trưng khác khiến chúng không phù hợp để đỡ móng nông cầu, bao gồm tiềm năng lún lớn đối với cát rời, đất sét nhạy và đất metastable. Đất sét giòn thể hiện cường độ tương đối cao ở mức biến dạng nhỏ, nhưng cường độ suy giảm đáng kể khi biến dạng lớn hơn (mềm hóa theo biến dạng). Ứng xử này cần được nhận diện và định lượng thông qua chương trình thí nghiệm hiện trường và trong phòng, rồi so sánh với các thay đổi ứng suất dự kiến do móng nông và cấu hình mái dốc nền đang xét gây ra.
Mặc dù các dạng phá hoại cắt cục bộ hoặc đâm thủng có thể phát triển trong cát rời hoặc khi sử dụng các móng rất hẹp, điều kiện cục bộ này hiếm khi áp dụng đối với móng cầu, vì spread footings không được sử dụng trên các nền đất yếu rõ rệt và kích thước móng tương đối lớn là cần thiết để bảo đảm ổn định kết cấu (Cheney & Chassie, 2000).
Kỹ sư địa kỹ thuật có thể gặp hai tình huống sau đây mà trong đó việc áp dụng mức giảm một phần ba theo Phương trình 5-13 có thể dẫn đến thiết kế bảo thủ quá mức một cách không cần thiết.
Trường hợp thứ nhất là khi xem xét một móng đặt trên đất rời thuộc vùng cắt cục bộ trong Hình 5-8. Lưu ý rằng việc giảm một phần ba giá trị tang của góc ma sát \(38^\circ\) (một giá trị thường gặp đối với đất đắp dạng hạt chất lượng tốt, đầm chặt) sẽ làm hệ số sức chịu tải \(N_q\) giảm 73 phần trăm và \(N_{\gamma}\) giảm 81 phần trăm. Cũng cần lưu ý rằng Hình 5-8 không xét đến ảnh hưởng của bề rộng móng lớn, như trường hợp dùng để đỡ công trình cầu. Vì vậy, với điều kiện là tiềm năng lún được kiểm tra độc lập (Mục 5.3.4) và được xác định là chấp nhận được, các spread footing trên đất rời cố kết tiêu chuẩn thuộc vùng cắt cục bộ của Hình 5-8 không nên được thiết kế bằng cách áp dụng mức giảm một phần ba theo Phương trình 5-13.
Tình huống thứ hai là khi xem xét một spread footing đặt trên đất đắp kết cấu (structural fill) đã đầm chặt. Lưu ý rằng Hình 5-8 được xây dựng cho các trầm tích đất tự nhiên, cốt kết tiêu chuẩn. Quan hệ giữa độ chặt tương đối của structural fill đã đầm chặt và công đầm nén (phần trăm đầm chặt tương đối) cho thấy rằng đối với đất đắp được đầm đến tối thiểu 95 phần trăm dung trọng khô lớn nhất (xác định theo AASHTO T-180), thì độ chặt tương đối phải đạt 75 phần trăm hoặc lớn hơn (Lee & Singh, 1971). Điều này phù hợp với lịch sử làm việc rất tốt của spread footing trong các khối structural fill (DiMillio, 1982). Do đó, mức giảm một phần ba không nên được sử dụng trong thiết kế móng đặt trên structural fill đầm chặt, được thi công bằng vật liệu hạt chất lượng tốt. Phụ lục A bao gồm các chỉ tiêu vật liệu được các cơ quan quản lý đường bộ cấp bang sử dụng thường xuyên khi xây dựng mố cầu và móng trụ được đỡ trong các khối structural fill đầm chặt.
5.2.3.7 Tải trọng nghiêng
Trường hợp tải trọng nghiêng là hợp lực được tạo thành từ cả thành phần lực dọc trục và lực cắt do cột hoặc thân tường truyền xuống móng. Nếu các thành phần của hợp lực này (tức là lực dọc trục và lực cắt) được kiểm tra theo sức kháng sẵn có tương ứng theo từng phương (tức là sức chịu tải và chống trượt), thì nhìn chung có thể bỏ qua việc đưa hệ số tải trọng nghiêng vào phương trình sức chịu tải. Tuy nhiên, sức chịu tải phải được đánh giá trên cơ sở kích thước hữu hiệu của móng, như trình bày trong Mục 6.4.1 và trong ghi chú dưới Bảng 5-2, vì các mô men lớn thường có thể được truyền đến móng cầu từ cột hoặc thân trụ. Việc đồng thời áp dụng hệ số hình dạng và hệ số nghiêng của tải trọng có thể dẫn đến thiết kế bảo thủ quá mức. Do đó, từ đây trở đi, hệ số nghiêng của tải trọng sẽ được bỏ qua trong tính toán sức chịu tải. Đối với mọi móng chịu tải trọng nghiêng, cần kiểm tra ổn định trượt.
Các cấu hình hình học hoặc tải trọng của cột không thông thường cần được đánh giá theo từng trường hợp cụ thể khi áp dụng khuyến nghị nêu trên về việc bỏ qua các hệ số nghiêng của tải trọng. Một ví dụ là cột chống không được bố trí vuông góc với bề mặt chịu tải của móng. Trong trường hợp này, có thể cần cân nhắc sử dụng đáy móng nghiêng để nâng cao hiệu quả chịu tải. Cũng cần lưu ý rằng các bề mặt chịu tải không nằm ngang có thể gây khó khăn cho cả việc thi công và kiểm tra.
5.2.3.8 Tính nén lún của đất
Vesic (1975) đã đưa vào các hệ số hiệu chỉnh cho tính nén lún của đất đối với móng đặt trên cát và sỏi, ký hiệu là \(c_q\) và \(c_\gamma\). Các hệ số này được phát triển nhằm giới hạn sức chịu tải cho phép một cách hiệu quả, có tính đến độ nén lún của vật liệu hạt rời. Các hệ số này là hàm số của khối lượng riêng của đất và tải trọng tác dụng; tuy nhiên, chúng không tính đến sự phân tầng của đất hoặc sự giảm ứng suất theo độ sâu dưới đáy móng (xem mục 5.3).
Các quy trình được khuyến nghị trong chương này tính toán trực tiếp độ lún nén dự tính của móng trên cát và các vật liệu hạt rời khác. Do đó, không nên sử dụng các hệ số nén lún của đất trong việc tính toán sức chịu tải cực hạn của móng trên đất hạt rời khi đã thực hiện một phép tính lún riêng biệt.
5.2.4 Các lưu ý bổ sung về các hệ số hiệu chỉnh sức chịu tải
Hệ số an toàn cố hữu hoặc hàm ý của sức chịu tải cho phép bị khống chế bởi độ lún so với sức chịu tải cực hạn tính toán thường đủ lớn để làm cho mức độ ảnh hưởng của việc áp dụng riêng lẻ từng hệ số hiệu chỉnh trở nên nhỏ. Xem các nhận xét sau:
- Hướng dẫn AASHTO (1996) khuyến nghị tính hệ số hình dạng (s) bằng cách sử dụng các kích thước hữu hiệu của móng, \(B’_f\) và \(L’_f\). Tuy nhiên, các tài liệu gốc (ví dụ Vesic, 1975) không nêu khuyến nghị cụ thể về việc sử dụng các kích thước hữu hiệu để tính hệ số hình dạng. Vì kỹ sư địa kỹ thuật thường không biết rõ các tải trọng gây ra độ lệch tâm, nên khuyến nghị sử dụng kích thước đầy đủ của móng để tính hệ số hình dạng (Bảng 5-2) khi tính toán sức chịu tải cực hạn.
- Bowles (1982) cũng khuyến nghị rằng hệ số hình dạng và hệ số nghiêng của tải trọng (s và i) không nên được kết hợp với nhau.
- Trong một số cấu hình tải trọng nhất định, việc đồng thời áp dụng hệ số hiệu chỉnh hình dạng, hệ số hiệu chỉnh do tải trọng nghiêng, khả năng xảy ra cắt cục bộ, các hệ số xét đến tính nén lún của đất, cùng với một hệ số an toàn thích hợp có thể dẫn đến sức chịu tải cho phép tính toán chỉ còn bằng 5 phần trăm hoặc thấp hơn so với sức chịu tải cực hạn chưa hiệu chỉnh. Điều này cho thấy tính bảo thủ quá mức khi đồng thời áp dụng tất cả các hệ số đã được nhiều nhà nghiên cứu đề xuất.
Vì vậy, dạng của phương trình sức chịu tải trong Phương trình 5-14 được khuyến nghị sử dụng cho các ứng dụng thiết kế thông thường.
Ngoài ra, các hệ số hiệu chỉnh sức chịu tải được xây dựng trên giả định rằng từng hệ số hiệu chỉnh cho mỗi hạng tử có chứa \(N_c\), \(N_{\gamma}\) và \(N_q\) có thể được xác định một cách độc lập. Lý thuyết sức chịu tải là sự lý tưởng hóa ứng xử của nền móng, nhằm xét đến các đặc tính của đất và các điều kiện biên. Việc phân tích sức chịu tải của móng thường bị giới hạn bởi khả năng của kỹ sư địa kỹ thuật trong việc xác định chính xác các đặc trưng vật liệu, hơn là bởi những thiếu sót của lý thuyết dùng để xây dựng các phương trình sức chịu tải. Hãy xem Bảng 5-1 và lưu ý rằng chỉ cần góc ma sát thay đổi 1 độ cũng có thể làm các hệ số \(N_c\), \(N_{\gamma}\) và \(N_q\) thay đổi từ 10 đến 15 phần trăm. Cũng cần lưu ý rằng giá trị của \(N_{\gamma}\) tăng hơn gấp đôi khi góc ma sát tăng từ 35° lên 40°. Rõ ràng, sự không chắc chắn trong các đặc trưng vật liệu sẽ chi phối đáng kể sự không chắc chắn của kết quả tính toán sức chịu tải. Vì vậy, tầm quan trọng của việc áp dụng các hệ số hiệu chỉnh chỉ đứng sau việc đánh giá đầy đủ các đặc trưng sức kháng vốn có của đất nền móng thông qua công tác khảo sát hiện trường và thí nghiệm trong phòng.
Cũng cần lưu ý rằng rất ít spread footing với kích thước dùng để đỡ công trình cầu đã được thí nghiệm tải đến phá hoại. Việc đánh giá sức chịu tải hiện chủ yếu dựa trên lý thuyết và các thí nghiệm trong phòng trên các móng kích thước nhỏ, với sự hiệu chỉnh của cơ sở lý thuyết dựa trên quan sát thực tế.
5.2.5 Tính toán sức chịu tải
Dạng tổng quát của phương trình sức chịu tải cực hạn, có kể đến các hệ số hiệu chỉnh, là:
\(q_{ult}= c N_c s_c b_c + q N_q C_{Wq} s_q b_q d_q + 0.5\gamma B_f N_\gamma C_{W\gamma} s_\gamma b_\gamma \tag{5-14}\)
trong đó:
- \(s_c, s_\gamma, s_q\): hệ số do hình dạng;
- \(b_c, b_\gamma, b_q\): hệ số do đáy nghiêng;
- \(d_q\): hệ số hiệu chỉnh trượt dọc theo mặt phá hoại đi qua vật liệu không dính phía trên cao độ đặt móng (nhớ rằng độ chôn móng được mô hình như áp lực tải phủ đặt tại cao độ đáy móng);
- \(C_{W\gamma}\) và \(C_{Wq}\): hệ số mực nước ngầm;
- \(N_c, N_\gamma, N_q\): lấy từ Bảng 5-1 hoặc Hình 5-6;
- đối với nền dốc hoặc móng gần sườn dốc, dùng các hệ số \(N_{cq}\) và \(N_{\gamma q}\) thay cho \(N_c\) và \(N_\gamma\).
Thay \(N_c\) và \(N_\gamma\) bằng \(N_{cq}\) và \(N_{\gamma q}\) cho trường hợp nền dốc hoặc móng đặt gần sườn dốc.
Góc ma sát của đất cần thiết để tra \(N_c\), \(N_q\) và \(N_\gamma\) từ Bảng 5-1 hoặc Hình 5-6. Hình 4-1 và Hình 4-2 có thể dùng để suy ra góc ma sát từ số liệu SPT đối với đất không dính, hoặc đo trực tiếp bằng thí nghiệm trong phòng hay hiện trường.
5.2.6 Hệ số an toàn đối với sức chịu tải
Hệ số an toàn tối thiểu áp dụng cho sức chịu tải cực hạn tính toán sẽ phụ thuộc vào:
- Mức độ tin cậy của các tham số sức kháng của đất dùng trong thiết kế (\(c\) và \(\phi\)),
- Mức độ quan trọng của công trình, và
- Hậu quả của sự cố phá hoại.
Các hệ số an toàn tối thiểu điển hình cho móng nông nằm trong khoảng từ 2.5 đến 3.5. Đối với hầu hết các ứng dụng móng cầu, khuyến nghị dùng hệ số an toàn tối thiểu bằng 3.0 đối với phá hoại sức chịu tải (Cheney & Chassie, 2000).
Hệ số an toàn này được lựa chọn dựa trên sự kết hợp giữa lý thuyết ứng dụng, kinh nghiệm và sự đồng thuận khi so sánh với các tổ hợp tải trọng chưa nhân hệ số trong thiết kế theo ứng suất cho phép, hay Service Load Design (SLD). Theo đó, độ không chắc chắn của cả độ lớn tải trọng và sức kháng chịu tải sẵn có của đất được gộp lại trong một hệ số an toàn duy nhất này. Phương trình hệ số an toàn tổng quát trong thiết kế theo ứng suất cho phép, hay SLD, như sau:
\(\sum Q_i \le \dfrac{R_n}{FS} \tag{5-15}\)
trong đó:
\(\qquad \qquad Q_i = \) ứng suất tác dụng (do spread footing truyền xuống)
\(\qquad \qquad R_n = \) ứng suất chảy của cấu kiện (hoặc sức chịu tải cực hạn của đất)
\(\qquad \qquad FS = \) hệ số an toàn áp dụng
Thiết kế theo hệ số tải trọng (Load Factor Design – LFD) lần đầu được AASHTO khuyến nghị vào cuối những năm 1970. Vào thời điểm đó, độ không chắc chắn của tải trọng được phản ánh trong các hệ số tải trọng. Tuy nhiên, phải đến khi triển khai Quy định thiết kế cầu theo hệ số tải trọng và sức kháng (Load and Resistance Factor Design – LRFD) của AASHTO (AASHTO, 1994), mới có nỗ lực đưa độ không chắc chắn của sức kháng đất nền móng vào các hệ số tính năng, hay hệ số sức kháng (\(\varphi\)).
Hệ số tính năng hay hệ số sức kháng không đơn thuần là nghịch đảo của hệ số an toàn. Chính xác hơn, nó là một hệ số an toàn riêng phần có xét đến khả năng biến thiên của sức chịu tải hoặc sức kháng được tính toán. Cần nhấn mạnh rằng các hệ số tính năng (sức kháng) dùng trong thiết kế địa kỹ thuật móng nông được phát triển dựa trên sự kết hợp giữa hiệu chỉnh theo độ tin cậy, hiệu chỉnh theo thiết kế ứng suất cho phép SLD (fitting), và phán đoán kỹ thuật. Do đó, các hệ số tính năng (LFD – AASHTO, 1996) và các hệ số sức kháng (LRFD – AASHTO, 1998) được lựa chọn để phù hợp với thực hành hiện hành và mô phỏng các hệ số an toàn được dùng trong thiết kế theo ứng suất cho phép. Phương trình tổng quát của LFD là:
\(\gamma \sum \beta_i Q_i \le \varphi R_n \tag{5-16}\)
trong đó:
\(\qquad \qquad \gamma = \) hệ số tải trọng đối với tổ hợp tải trọng
\(\qquad \qquad \beta_i = \) hệ số tải trọng đối với tải trọng riêng lẻ \(Q_i\)
\(\qquad \qquad Q_i = \) tải trọng hoặc ứng suất sử dụng riêng lẻ
\(\qquad \qquad \varphi = \) hệ số sức kháng
\(\qquad \qquad R_n = \) cường độ danh định của cấu kiện (ví dụ: ứng suất chảy của thép)
Trong những năm giữa thời điểm áp dụng LFD để tính tải trọng có nhân hệ số và thời điểm phát triển các hệ số sức kháng cho đất, các cơ quan lựa chọn triển khai LFD nhận thấy cần phải có các quy định tạm thời để tăng sức chịu tải cho phép của spread footing do kỹ sư địa kỹ thuật cung cấp. Nếu không làm như vậy, họ nhận thấy rằng các thiết kế theo LFD của mình bảo thủ hơn đáng kể so với khi sử dụng thiết kế SLD (ứng suất cho phép).
Một cách tiếp cận đã được dùng để giảm bớt mức độ bảo thủ bổ sung này là nhân sức chịu tải cho phép với một hệ số nào đó, thường từ 1.5 đến 2. Mặc dù quy trình này có thể dẫn đến các thiết kế móng nhìn chung tương tự với các thiết kế được xây dựng theo phương pháp ứng suất cho phép, nhưng nói chung nên tránh cách tiếp cận này, vì các phép tính độ lún dùng để xác định sức chịu tải cho phép được dựa trên tải trọng chưa nhân hệ số, chứ không phải tải trọng đã nhân hệ số (tăng lên).
Phải đến khi phương pháp Thiết kế theo hệ số tải trọng và sức kháng (LRFD) được áp dụng (AASHTO, 1994), những điểm không nhất quán này mới ít nhất được giải quyết một phần. Phụ lục C chứa hai bài toán ví dụ được trình bày trong Phụ lục B và được giải theo phương pháp LRFD. Lưu ý rằng các thiết kế không khác biệt một cách triệt để. Điều này là hợp lý, vì các hệ số sức kháng LRFD trong AASHTO đã được lựa chọn sao cho các thiết kế sẽ tương tự với thực hành trước đây.
Rõ ràng, kỹ sư kết cấu và kỹ sư địa kỹ thuật phải nhất quán trong việc trao đổi các tiêu chí và phương pháp thiết kế của mình. Cách tiếp cận pha trộn, trong đó dùng SLD cho sức chịu tải của móng và dùng LFD hoặc LRFD cho tính toán tải trọng, có thể dẫn đến các thiết kế rất bảo thủ. Tầm quan trọng của sự trao đổi hiệu quả giữa kỹ sư kết cấu và kỹ sư địa kỹ thuật chưa bao giờ lớn như hiện nay. Việc hiểu sai về các hệ số an toàn SLD được dùng để xác định sức chịu tải cho phép có thể dẫn đến thiết kế quá bảo thủ khi các hệ số tải trọng LFD hoặc LRFD được dùng để tăng tải trọng thiết kế rồi sau đó dùng các tải trọng đó để xác định kích thước móng. Điều này đặc biệt đúng đối với các nhóm tải trọng SLD VII đến XI của AASHTO (AASHTO, 1996; xem Mục 6.3 để biết thêm về các nhóm tải trọng và định nghĩa của chúng), tương ứng là các điều kiện tải trọng hiếm gặp hoặc cực hạn do động đất, tải trọng băng và băng cộng gió. Nếu sức chịu tải cho phép do kỹ sư địa kỹ thuật cung cấp được dùng để xác định kích thước móng nông khi một trong các điều kiện tải trọng này chi phối thiết kế, người thiết kế thường sẽ kết luận rằng móng nông phải rất lớn và do đó không khả thi. Các móng sâu tốn kém như cọc hoặc giếng thường bị lựa chọn một cách không cần thiết khi xảy ra sự hiểu sai này.
5.2.7 Sức chịu tải giả định (presumptive)
5.2.7.1 Đất
Việc sử dụng các giá trị sức chịu tải giả định đối với móng đặt trên đất không được khuyến nghị cho thiết kế cuối cùng của móng nông cho các công trình giao thông, đặc biệt là cầu. Những phỏng đoán về địa chất và bản chất của khu vực xây dựng, cũng như việc áp dụng một giá trị giả định dựa trên các khái quát hóa trong tài liệu, không thể thay thế cho một chương trình khảo sát địa chất công trình và thí nghiệm trong phòng đầy đủ, phù hợp riêng cho từng vị trí. Ngoại lệ là việc đánh giá sơ bộ tính khả thi của móng nông và ước tính kích thước móng phục vụ đánh giá sơ bộ về khả năng thi công hoặc chi phí.
Các nguồn địa phương về các giá trị giả định được đề xuất, có trong các tài liệu địa chất công trình hoặc địa kỹ thuật, nhìn chung thực tế hơn so với các giá trị sức chịu tải được khái quát hóa theo phân loại đất hoặc được nêu trong các tiêu chuẩn thiết kế như AASHTO (1996, 1998) hoặc các sổ tay NAVFAC (NAVFAC, 1986a và 1986b).
5.2.7.2 Đá
Đối với điều kiện đá nguyên khối lành chắc, có cường độ lớn hơn và tính nén lún nhỏ hơn bê tông, các móng đặt trên đá chịu tải trọng tác dụng nhỏ nhìn chung là ổn định và do đó không cần nghiên cứu quá chi tiết về các đặc trưng cường độ và tính nén lún của khối đá. Tuy nhiên, vẫn cần khảo sát hiện trường để xác nhận tính đồng nhất và phạm vi phân bố của các thành tạo đá bên dưới móng nông.
Sức chịu tải cho phép của móng đặt trên bề mặt đá tương đối đồng nhất và lành chắc được quy định trong các quy chuẩn xây dựng và sổ tay kỹ thuật áp dụng. Có nhiều định nghĩa khác nhau về đá lành chắc. Tuy nhiên, theo cách hiểu đơn giản, “đá lành chắc” nói chung có thể được định nghĩa là khối đá không bị phân rã sau khi tiếp xúc với không khí hoặc nước, và có các mặt gián đoạn không bị phong hóa, kín hoặc chặt (rộng dưới khoảng 3 mm), với khoảng cách không nhỏ hơn 1 m. Bảng 5-6 trình bày các áp lực chịu tải cho phép được khuyến nghị trong một số quy chuẩn xây dựng địa phương được lựa chọn (Goodman, 1989). Các giá trị này được xây dựng dựa trên kinh nghiệm đối với các thành tạo đá lành chắc, với mục tiêu thỏa mãn đồng thời cả tiêu chí sức chịu tải và độ lún nhằm bảo đảm hệ số an toàn thỏa đáng. Trong đa số trường hợp, việc tuân theo các quy chuẩn này là hợp lý vì các giá trị được khuyến nghị trong quy chuẩn thường có xu hướng bảo thủ hơn dựa trên kinh nghiệm địa phương. Tuy nhiên, đối với các công trình chịu tải lớn, việc sử dụng các giá trị giả định sẵn có thể dẫn đến các móng quá bảo thủ và tốn kém. Trong những trường hợp như vậy, đa số quy chuẩn cho phép sai khác nếu có báo cáo kỹ thuật làm căn cứ.
Ở những khu vực không có hoặc không áp dụng được quy chuẩn xây dựng, có thể sử dụng các giá trị sức chịu tải giả định khác được khuyến nghị, chẳng hạn như các giá trị liệt kê trong Bảng 5-7, để xác định áp lực chịu tải cho phép của đá lành chắc. Đối với các móng được thiết kế theo các giá trị công bố này, độ lún đàn hồi nói chung nhỏ hơn 13 mm. Khi đá tương đối lành chắc (reasonably sound) nhưng bị nứt nẻ, các giá trị giả định liệt kê trong Bảng 5-6 và 5-7 cần được giảm xuống để ngăn ngừa độ lún quá mức có thể xảy ra. Hầu hết các quy chuẩn xây dựng cũng đưa ra các áp lực chịu tải khuyến nghị đã được giảm để xét đến mức độ nứt nẻ. Ví dụ, Bảng 5-8 trình bày các áp lực chịu tải của đá theo Quy chuẩn Xây dựng Thành phố New York (2001).
Bảng 5-6: Áp lực chịu tải cho phép đối với đá tươi (chưa phong hóa) các loại1,2,3,4 (Goodman, 1989)
| Loại đá | Niên đại | Địa điểm | Áp lực chịu tải cho phép (MPa) |
|---|---|---|---|
| Đá vôi lớp dày (Massively bedded limestone)5 | – | U.K.6 | 3.8 |
| Đôlômit (Dolomite) | Hạ Paleozoi | Chicago | 4.8 |
| Đôlômit (Dolomite) | Hạ Paleozoi | Detroit | 1.0 – 9.6 |
| Đá vôi (Limestone) | Thượng Paleozoi | Kansas City | 0.5 – 5.8 |
| Đá vôi (Limestone) | Thượng Paleozoi | St. Louis | 2.4 – 4.8 |
| Phiến mica (Mica schist) | Tiền Cambri | Washington | 0.5 – 1.9 |
| Phiến mica (Mica schist) | Tiền Cambri | Philadelphia | 2.9 – 3.8 |
| Phiến Manhattan (Manhattan schist) | Tiền Cambri | New York | 5.8 |
| Gơnai Fordham (Fordham gneiss) | Tiền Cambri | New York | 5.8 |
| Phiến biến chất & đá phiến sét (Schist and slate) | – | U.K.6 | 0.5 – 1.2 |
| Argillite (đá bột kết) | Tiền Cambri | Cambridge, MA | 0.5 – 1.2 |
| Đá phiến sét Newark (Newark shale) | Trias | Philadelphia | 0.5 – 1.2 |
| Đá phiến sét cứng, xi măng hoá (Hard, cemented shale) | – | U.K.6 | 1.9 |
| Đá phiến sét Eagleford (Eagleford shale) | Phấn trắng (Cretaceous) | Dallas | 0.6 – 1.9 |
| Đá phiến sét sét (Clay shale) | – | U.K.6 | 1.0 |
| Đá phiến sét Pierre (Pierre shale) | Phấn trắng | Denver | 1.0 – 2.9 |
| Sa thạch Fox Hills (Fox Hills sandstone) | Đệ tam | Denver | 1.0 – 2.9 |
| Đá phấn rắn (Solid chalk) | Phấn trắng | U.K.6 | 0.6 |
| Đá phấn Austin (Austin chalk) | Phấn trắng | Dallas | 1.4 – 4.8 |
| Sa thạch & bột kết dễ vỡ (Friable sandstone and claystone) | Đệ tam | Oakland | 0.4 – 1.0 |
| Sa thạch dễ vỡ – hệ tầng Pico (Friable sandstone, Pico Fm.) | Đệ tứ | Los Angeles | 0.5 – 1.0 |
Ghi chú:
1 Theo các quy chuẩn xây dựng điển hình; giảm giá trị tương ứng khi có phong hoá hoặc hệ thống nứt không đại diện.
2 Giá trị từ Thornburn (1966) và Woodward, Gardner & Greer (1972).
3 Khi cho khoảng giá trị, đó là khoảng thường gặp trong điều kiện đá tương ứng.
4 Đá tốt (sound rock) kêu vang khi gõ và không rã; khe nứt không phong hoá và hở < 10 mm.
5 Bề dày lớp > 1 m, khoảng cách khe nứt > 2 m; cường độ nén không nén hông > 7.7 MPa (mẫu lập phương 100 mm).
6 Theo ICE Code of Practice 4 (Viện Kỹ sư Xây dựng, U.K.).
Bảng 5-7: Giá trị giả định của áp lực chịu tải cho phép đối với spread foundations đặt trên đá
(hiệu chỉnh theo NAVFEC, 1986b)
| Loại vật liệu chịu tải | Độ đặc chắc tại chỗ | Áp lực chịu tải cho phép (MPa) | |
|---|---|---|---|
| Khoảng giá trị | Giá trị khuyến nghị sử dụng |
||
| Đá mácma tinh thể khối lớn và đá biến chất: đá granite, diorite, basalt, gneiss, cuội kết được xi măng hóa hoàn toàn (trạng thái lành chắc cho phép có các vết nứt nhỏ) |
Đá cứng, lành chắc | 5.8 đến 9.6 | 7.7 |
| Đá biến chất phân phiến: đá slate, schist (trạng thái lành chắc cho phép có các vết nứt nhỏ) |
Đá lành chắc cứng vừa | 2.9 đến 3.8 | 3.4 |
| Đá trầm tích; đá phiến sét được xi măng hóa cứng, siltstone, sandstone, limestone không có hang hốc |
Đá lành chắc, cứng vừa | 1.4 đến 2.4 | 1.9 |
| Nền đá phong hóa hoặc đá gốc vỡ vụn thuộc mọi loại, ngoại trừ đá có hàm lượng sét cao (shale). RQD nhỏ hơn 25 |
Đá mềm | 0.8 đến 1.2 | 1 |
| Đá phiến sét nén chặt hoặc loại đá khác có hàm lượng sét cao ở trạng thái lành chắc |
Đá mềm | 0.8 đến 1.2 | 1 |
Ghi chú:
- Đối với phân tích sơ bộ hoặc khi không có các thí nghiệm xác định sức kháng, việc thiết kế và định tỷ lệ móng nông để phân bố tải trọng của chúng có thể sử dụng các giá trị giả định của áp lực chịu tải cho phép nêu trong bảng này. Điều chỉnh giá trị danh định của áp lực chịu tải cho phép đối với các điều kiện đặc biệt được nêu trong các ghi chú từ 2 đến 8.
- Áp lực chịu tải lớn nhất dưới đáy móng do tải trọng lệch tâm gây ra, bao gồm tĩnh tải cộng với hoạt tải thông thường cộng với tải trọng ngang thường xuyên, không được vượt quá giá trị áp lực chịu tải danh định nêu trên.
- Cho phép áp lực chịu tải vượt quá đến một phần ba giá trị áp lực chịu tải danh định đối với tải trọng hoạt tải tạm thời do gió hoặc động đất. Nếu phần vượt tải do gió hoặc động đất lớn hơn một phần ba áp lực chịu tải danh định, thì chỉ được tăng áp lực chịu tải cho phép thêm một phần ba giá trị danh định.
- Kéo dài móng đặt trên đá mềm xuống đến độ sâu tối thiểu 40 mm bên dưới bề mặt đất liền kề hoặc bề mặt sàn liền kề, lấy cao độ nào thấp hơn.
- Đối với móng đặt trên đá mềm, tăng áp lực chịu tải cho phép thêm 5 phần trăm giá trị danh định cho mỗi 0.3 m chiều sâu nằm dưới độ sâu tối thiểu quy định ở ghi chú 4.
- Áp dụng các giá trị áp lực chịu tải danh định của ba nhóm đá cứng hoặc đá cứng vừa nêu trên khi đáy móng đặt trên bề mặt đá. Khi móng được đặt sâu xuống dưới bề mặt đá, tăng áp lực chịu tải cho phép thêm 10 phần trăm giá trị danh định cho mỗi 0.3 m chiều sâu tăng thêm bên dưới bề mặt đá.
- Đối với móng có kích thước ngang nhỏ nhất nhỏ hơn 1 m, áp lực chịu tải cho phép sẽ bằng áp lực chịu tải danh định nhân với kích thước ngang nhỏ nhất đó (tính bằng mét).
- Nếu áp lực chịu tải danh định khuyến nghị nêu trên vượt quá cường độ nén không nở hông của mẫu nguyên dạng, thì áp lực cho phép được lấy bằng cường độ nén không nở hông đó.
Bảng 5-8: Áp lực chịu tải cho phép đối với spread foundations đặt trên đá tại thành phố New York
(New York City Building Code, 2001)
| Mô tả | Phân loại | qallowable (MPa) |
|---|---|---|
| Đá cứng, lành chắc |
Đá tinh thể như Fordham Gneiss, Ravenswood Gneiss, Palisades Diabase và Manhattan Schist. Đặc trưng: đá phát ra âm thanh chắc đanh khi gõ bằng cuốc hoặc xà beng; không bị phân rã khi tiếp xúc với không khí hoặc nước; vỡ thành các mảnh sắc cạnh mới; các khe nứt không bị phong hóa và có bề rộng nhỏ hơn 3 mm (1/8 in); khoảng cách khe nứt thường không nhỏ hơn 0.9 m (3 ft); tỷ lệ thu hồi lõi bằng ống lõi đôi, mũi khoan kim cương thường từ 85 phần trăm trở lên cho mỗi đợt khoan 1.5 m (5 ft). |
5.8 |
| Đá lành chắc trung bình |
Bao gồm các loại đá tinh thể nêu trên, cộng với đá hoa Inwood và serpentine. Đặc trưng: bao gồm các đặc trưng của đá cứng nêu trên, ngoại trừ khe nứt có thể rộng đến 6 mm (1/4 in) và hơi bị phong hóa; khoảng cách khe nứt thường không nhỏ hơn 0.6 m (2 ft); tỷ lệ thu hồi lõi bằng ống lõi đôi, mũi khoan kim cương thường từ 50 phần trăm trở lên cho mỗi đợt khoan 1.5 m (5 ft). |
3.8 |
| Đá lành chắc trung gian |
Bao gồm tất cả các loại đá nêu trên, cộng với shale được xi măng hóa và sandstone của hệ tầng Newark. Đặc trưng: đá vẫn phát ra âm thanh chắc đanh khi gõ bằng cuốc hoặc xà beng; không bị phân rã khi tiếp xúc với không khí hoặc nước; các mảnh vỡ có thể có bề mặt bị phong hóa; có thể chứa các khe nứt và đới phong hóa rộng đến 25 mm (1 in), với khoảng cách gần nhau đến 0.3 m (1 ft); tỷ lệ thu hồi lõi bằng ống lõi đôi, mũi khoan kim cương thường từ 35 phần trăm trở lên cho mỗi đợt khoan 1.5 m (5 ft). |
1.9 |
| Đá mềm |
Bao gồm tất cả các loại đá nêu trên ở trạng thái phong hóa một phần, cộng với shale và sandstone được xi măng hóa. Đặc trưng: đá có thể mềm đi khi tiếp xúc với không khí hoặc nước; có thể chứa các đới phong hóa rộng đến 75 mm (3 in) nhưng được lấp đầy bằng đất cứng; tỷ lệ thu hồi lõi bằng ống lõi đôi, mũi khoan kim cương nhỏ hơn 35 phần trăm cho mỗi đợt khoan 1.5 m (5 ft), nhưng sức kháng xuyên tiêu chuẩn trong quá trình lấy mẫu đất lớn hơn 50 búa trên mỗi 0.3 m (1 ft). |
0.8 |
Peck và cộng sự (1974) đã đưa ra một tương quan thực nghiệm giữa áp lực chịu tải cho phép giả định và chỉ số chất lượng đá RQD (Rock Quality Designation), như trình bày trong Bảng 5-9. AASHTO khuyến nghị sử dụng các giá trị giả định do Peck và cộng sự đề xuất để lựa chọn áp lực chịu tải cho phép; tuy nhiên, nếu giá trị áp lực chịu tải cho phép được khuyến nghị vượt quá cường độ nén không hạn chế của đá hoặc ứng suất cho phép của bê tông, thì phải lấy giá trị nhỏ hơn trong hai giá trị này. Mặc dù các giá trị sức chịu tải do Peck và cộng sự (1974) đề xuất lớn hơn đáng kể so với hầu hết các giá trị đã công bố khác và không xét đến ảnh hưởng của loại đá cũng như kiểu và trạng thái của các mặt gián đoạn, chúng vẫn cung cấp một chỉ dẫn hữu ích để ước tính cận trên, đồng thời cho thấy một quan hệ thực nghiệm giữa các giá trị sức chịu tải cho phép và mức độ nứt nẻ, phân khối của đá (Bảng 5-9). Lưu ý rằng chỉ với sự gia tăng nhỏ về mức độ nứt nẻ của khối đá, chẳng hạn khi giá trị RQD giảm từ 100 phần trăm xuống 90 phần trăm, thì giá trị sức chịu tải khuyến nghị giảm mạnh từ 29 xuống 19 MPa.
Chỉ số chất lượng đá (RQD) được định nghĩa là tổng chiều dài các đoạn lõi đá có chiều dài lớn hơn 100 mm (4 in).
[Ví dụ: một hiệp khoan lấy lõi đá dài 1.5 m (60 in). Tổng chiều dài các đoạn lõi đá lớn hơn 100 mm (4 in) là 0.5 m (18 in). Do đó, RQD = 0.5/1.5 = 0.33 hay 33 phần trăm.]
Trong mọi trường hợp, sức chịu tải cho phép không được vượt quá ứng suất cho phép của bê tông. Ngoài ra, Peck và cộng sự (1974) cũng đề xuất rằng nên sử dụng giá trị RQD trung bình của lớp đá chịu tải trong phạm vi chiều sâu bằng chiều rộng móng (\(B_f\)) dưới đáy móng, nếu các giá trị RQD trong phạm vi chiều sâu đó tương đối đồng đều. Nếu đá trong phạm vi chiều sâu 0.5\(B_f\) có chất lượng kém hơn, thì phải sử dụng RQD của lớp đá chất lượng kém hơn để xác định sức chịu tải cho phép.
Bảng 5-9: Giá trị đề xuất của sức chịu tải cho phép (Peck et al, 1974)
| RQD (%) | Chất lượng khối đá | Áp lực cho phép (MPa) |
|---|---|---|
| 100 | Rất tốt (Excellent) | 29 |
| 90 | Tốt (Good) | 19 |
| 75 | Trung bình (Fair) | 12 |
| 50 | Kém (Poor) | 6 |
| 25 | Rất kém (Very Poor) | 3 |
| 0 | Tương tự đất (Soil-like) | 1 |
Ghi chú: RQD (Rock Quality Designation) là tổng chiều dài các đoạn lõi khoan đá có L > 100 mm (4 in) chia cho chiều dài chạy lõi của lần khoan (tính theo %).
5.2.8 Sức chịu tải cho phép trên đất
Có thể đạt được một thiết kế chấp nhận được và an toàn bằng cách trước hết tính toán sức chịu tải cực hạn của spread footing theo quy trình ở Mục 5.2.5 và áp dụng hệ số an toàn thích hợp (Mục 5.2.6), sau đó thực hiện phân tích độ lún để bảo đảm móng sẽ làm việc trong các giới hạn cho phép dưới ứng suất tác dụng (Mục 5.3.3, 5.3.4 và 5.3.5). Nếu độ lún tại ứng suất chịu tải cho phép là quá lớn, thì sức chịu tải cho phép phải được giảm xuống cho đến khi độ lún tính toán nằm trong giới hạn chấp nhận được. Lưu ý rằng các lớp đất nằm trong phạm vi khoảng 1.5 lần bề rộng móng bên dưới đáy móng là quan trọng nhất khi xét đến phá hoại do cắt và độ lún. Vì vậy, nên thu thập dữ liệu tốt về đất nền bên dưới trong phạm vi này. Thí nghiệm SPT và lấy mẫu đất với khoảng cách 0.75 m (2.5 ft) nên được xem là mức tối thiểu của dữ liệu khảo sát địa chất cần thu thập trong phạm vi này. Bên dưới phạm vi này, khoảng cách lấy mẫu có thể giảm xuống mức thông thường là 1.5 m (5 ft). Tuy nhiên, các hố khoan vẫn phải được kéo dài ít nhất xuyên qua toàn bộ vùng ảnh hưởng phục vụ xét độ lún (từ hai đến bốn lần bề rộng móng nhỏ nhất ước tính), như mô tả trong Mục 4.3.2.
Cần nhớ rằng sức chịu tải cho phép cũng bao gồm việc xét đến yêu cầu hạn chế khả năng móng bị lún. Thiết kế móng nông cho cầu thường được chi phối bởi điều kiện độ lún hơn là điều kiện phá hoại do cắt, do bề rộng móng thường lớn. Tuy nhiên, vẫn phải duy trì hệ số an toàn đủ lớn đối với mọi điều kiện tải trọng dự kiến liên quan đến khả năng phát sinh phá hoại do cắt bên dưới móng.
5.2.9 Sức chịu tải cho phép trên IGM và Đá
Kỹ sư địa kỹ thuật cần sử dụng công tác khảo sát hiện trường, thí nghiệm hiện trường và thí nghiệm trong phòng để xác nhận các đặc trưng vật liệu của IGM và đá. Sau đó, cần vận dụng phán đoán kỹ thuật đối với các giá trị sức chịu tải tính toán theo lý thuyết, kết hợp với kinh nghiệm địa phương (các giá trị sức chịu tải giả định), khi lựa chọn sức chịu tải cho phép dùng trong thiết kế. Để bảo đảm ổn định, kỹ sư địa kỹ thuật phải đánh giá khả năng mất ổn định tổng thể hoặc ảnh hưởng của các mặt gián đoạn trong khối đá có thể làm hạn chế sức chịu tải cho phép. Cần lưu ý rằng sức chịu tải của một số loại đá trầm tích có thể giảm mạnh khi bị phong hóa và ẩm ướt.
5.2.10 Sức chịu tải cho phép trên khối đắp có kết cấu (structural fill) đầm chặt
Sức chịu tải cho phép của spread footing xây dựng trên structural fill đầm chặt sẽ phụ thuộc vào chất lượng của vật liệu đắp (ví dụ: thành phần hạt, độ bền lâu, khả năng thoát nước), mức độ đầm chặt đạt được ngoài hiện trường, cũng như cường độ và tính nén lún của các vật liệu nền đắp. Đối với các vật liệu đắp như cát, sức chịu tải cho phép trong thiết kế có thể được xác định một cách hợp lý thông qua các thí nghiệm trong phòng như thí nghiệm cắt trực tiếp, được thực hiện tại mức độ đầm chặt thích hợp và dưới ứng suất tác dụng tương ứng. Góc ma sát thu được từ chương trình thí nghiệm như vậy có thể được dùng để tính trực tiếp sức chịu tải cho phép.
Thông thường, điều mong muốn và được khuyến nghị là các khối structural fill đầm chặt đỡ spread footing nên là vật liệu chọn lọc và được quy định rõ, bao gồm các hạt cỡ cát và sỏi. Việc thí nghiệm cắt trực tiếp đối với các vật liệu như vậy đòi hỏi thiết bị thí nghiệm cỡ lớn, do đó không thực tế nếu thực hiện riêng cho từng dự án. Vì vậy, thiết kế spread footing trên vật liệu cát và sỏi đầm chặt thường dựa trên sự kết hợp giữa kinh nghiệm và các thí nghiệm trong phòng không thường xuyên đối với những thành phần hạt quy định của vật liệu đắp chọn lọc. Sau đó, các chỉ tiêu kỹ thuật vật liệu sẽ được xây dựng dựa trên các thành phần hạt đã quy định nhằm bảo đảm kiểm soát chất lượng tốt trong quá trình thi công. Quy trình này giúp bảo đảm rằng các kết luận từ thí nghiệm trong phòng là phù hợp với các biện pháp thi công được sử dụng để đắp nền.
Bảng 5-10 liệt kê các giá trị giả định của sức chịu tải cho phép được một số cơ quan quản lý đường cao tốc cấp bang sử dụng trong thiết kế spread footing đỡ trên khối đất structural fill đầm chặt. Các chỉ tiêu kỹ thuật về vật liệu và thi công tương ứng với các giá trị sức chịu tải này được nêu trong Phụ lục A.
Bảng 5-10: Giá trị giả định của sức chịu tải cho móng đặt trên khối structural fill đầm chặt
| Cơ quan | Áp lực cho phép | Độ lún dự kiến kèm theo | Vật liệu đắp quy định¹ ² |
|---|---|---|---|
| Washington State DOT | 290 kPa (3 tsf) | < 40 mm (1½ in) | Gravel Borrow |
| Nevada DOT | 190 kPa (2 tsf) | < 32 mm (1¼ in) | Type 1A Aggregate Base |
| Michigan DOT | 170 kPa (1¾ tsf) | Không có số liệu | Granular Material Class III |
¹ Quy cách vật liệu nêu ở Phụ lục A.
² Quy cách phải nêu mức kiểm soát chất lượng đối với vật liệu đắp (ví dụ: cấp phối, độ bền, chiều dày lớp đầm và mức độ đầm nén).
5.2.11 Phần ứng suất vượt mức cho phép đối với ứng suất chịu tải
Theo phương pháp thiết kế theo tải trọng sử dụng (Service Load Design) (AASHTO, 1996), một số nhóm tải trọng nhất định (ví dụ: tải trọng động đất) được phép vượt quá ứng suất chịu tải cho phép của một bộ phận kết cấu (trong trường hợp này là vật liệu đỡ móng) theo một tỷ lệ phần trăm quy định, trong khoảng từ 25 đến 50 phần trăm. Các mức cho phép vượt ứng suất này được áp dụng cho các tải trọng tác dụng trong thời gian ngắn, ít khi xảy ra, và cũng có thể được áp dụng cho các giá trị sức chịu tải cho phép được tính toán.
5.3 Ước tính độ lún
Hai yếu tố chính ảnh hưởng đến việc lựa chọn và thiết kế móng nông là sức chịu tải (đã được trình bày ở mục trước) và khả năng lún của nền đất trong vùng ảnh hưởng bên dưới móng. Mục này trình bày các tham số và phương pháp phân tích được sử dụng để ước tính độ lớn và tốc độ lún theo thời gian của móng nông.
Độ lún tổng cộng của một móng nông sẽ phát sinh do một hoặc, nhiều khả năng hơn, là sự kết hợp của các cơ chế sau đây:
a) Lún tức thời: Độ lún này có thể phát sinh do sự nén đàn hồi của vật liệu đỡ móng, hoặc do sự giảm thể tích lỗ rỗng trong đất không bão hòa khi không khí bị ép thoát ra khỏi các lỗ rỗng. Đối với đất rời, gần như toàn bộ độ lún do sự gia tăng ứng suất gây ra đều gắn với quá trình nén lún tức thời, hay nén đàn hồi.
b) Cố kết sơ cấp: Độ lún cố kết xảy ra khi đất hạt mịn bão hòa chịu sự gia tăng ứng suất. Nước trong các lỗ rỗng ban đầu sẽ chịu tải. Sau đó, khi nước bị ép thoát ra khỏi lỗ rỗng, đất sẽ bị giảm thể tích và khoảng trống giữa các hạt đất cũng giảm xuống. Quá trình này có thể chậm hoặc nhanh và phụ thuộc nhiều vào tính thấm của đất theo phương thoát nước. Quá trình này sẽ chậm dần và cuối cùng dừng lại khi toàn bộ áp lực nước lỗ rỗng dư do sự gia tăng ứng suất gây ra đã tiêu tán. Cố kết sơ cấp chủ yếu là vấn đề cần quan tâm đối với đất hạt mịn, hay đất dính, vì đất hạt thô thường có tính thấm đủ lớn để bất kỳ sự thay đổi thể tích nào xảy ra do nước bị ép thoát khỏi lỗ rỗng cũng diễn ra nhanh gần như đồng thời với thời điểm tải trọng được tác dụng.
c) Nén lún thứ cấp: Một số loại đất, sau khi đã trải qua độ lún cố kết sơ cấp, vẫn tiếp tục biến dạng sau khi áp lực nước lỗ rỗng dư đã tiêu tán. Quá trình này được gọi là nén lún thứ cấp, hay “creep”. Đất hữu cơ và một số loại bụi vô cơ là những loại đất có thể biểu hiện cả cố kết sơ cấp lẫn nén lún thứ cấp, hay lún từ biến.
Nén lún ban đầu chiếm phần chủ yếu của quá trình cố kết trong đất hạt rời. Cố kết sơ cấp chiếm phần chủ yếu của quá trình cố kết trong đất dính. Cả cố kết sơ cấp và nén lún thứ cấp đều đóng góp đáng kể vào độ lún cố kết trong đất hữu cơ.
Độ lún lệch xảy ra khi một bộ phận chịu lực của công trình có độ lún tổng cộng khác về trị số so với bộ phận chịu lực liền kề. Vì độ lún lệch sẽ gây ra tải trọng và ứng suất trong kết cấu phía trên móng, nên trong thiết kế công trình, việc hạn chế độ lún lệch thường được quan tâm nhiều hơn so với độ lún tổng cộng. Dĩ nhiên, nếu độ lún tổng cộng được khống chế thì độ lún lệch sẽ được hạn chế ở mức còn lớn hơn nữa.
Các công trình giao thông, đặc biệt là cầu, không có khả năng chịu đựng độ lún lệch cao. Vì vậy, các giới hạn biến dạng thường sẽ là giới hạn trên của sức chịu tải đất cho phép được dùng trong thiết kế móng nông.
5.3.1 Tiêu chí khả năng sử dụng
Mức chuyển vị chấp nhận được mà một công trình có thể chịu đựng phụ thuộc vào loại công trình, tuổi thọ khai thác dự kiến và hậu quả của chuyển vị quá mức. Chuyển vị chấp nhận được thường được biểu thị theo angular distortion giữa các bộ phận kết cấu. “Angular distortion” được định nghĩa là tỷ số giữa độ lún lệch (\(\delta’\)) giữa các móng với chiều dài nhịp (\(l\)), tức là \(\delta’/l\). Giá trị angular distortion lớn nhất cần được khống chế trong một giới hạn chấp nhận được nhằm giảm thiểu các vấn đề về khả năng chịu lực và khả năng sử dụng của kết cấu. Chênh lệch lún quá lớn có thể gây ra nứt đáng kể trong kết cấu.
Các nghiên cứu thực nghiệm về ứng xử của cầu dưới các giá trị angular distortion lớn nhất khác nhau giữa các móng liền kề đã kết luận rằng các yêu cầu về khả năng sử dụng sẽ được thỏa mãn nếu angular distortion đối với cầu nhịp giản đơn nhỏ hơn 0.005 và đối với cầu liên tục nhỏ hơn 0.004 (Moulton và cộng sự, 1982, 1985). Theo các tiêu chí này, một cầu liên tục có chiều dài nhịp 30 m (100 ft) có thể chịu được độ lún lệch khoảng 130 mm (5 in) giữa các gối đỡ. Tuy nhiên, trong thực tế, cầu thường được thiết kế với mức độ lún chấp nhận được nhỏ hơn nhiều. Không hiếm trường hợp kết cấu nhịp liên tục được thiết kế với độ lún lệch giữa các trụ liền kề khoảng 25 mm (1 in) hoặc nhỏ hơn, và đối với các nhịp giản đơn là khoảng 38 đến 50 mm (1½ đến 2 in).
DiMillio (1982) báo cáo trong báo cáo nghiên cứu của FHWA mang tên “Performance of Highway Abutments on Spread Footings” rằng các chuyển vị lệch ở mức vừa phải, từ 25 đến 75 mm (1 đến 3 in), chỉ gây ra rất ít hư hại trong bất kỳ công trình nào được nghiên cứu. Trong số 148 cầu có spread footing được khảo sát, các chuyển vị của móng quan sát được đều nhỏ, và các chuyển vị này không gây ra hư hại đáng kể.
Đối với các móng lớn đặt trên nền đất có mặt cắt địa tầng không đồng nhất, hoặc các móng chịu tải trọng lệch tâm lớn, sự xoay của móng có thể là vấn đề cần quan tâm. Trong các trường hợp này, độ lớn của góc xoay có thể được tính toán bằng cách xét đến khả năng xuất hiện độ chênh lệch lún do sự khác nhau của tải trọng tác dụng hoặc do tính không đồng nhất của địa tầng đất nền.
Cần lưu ý rằng chênh lệch chuyển vị cho phép giữa các cột liền kề trong cùng một trụ hoặc bệ trụ có thể nhỏ hơn đáng kể so với giữa các trụ liền kề trong cùng một công trình, do độ cứng và chiều dài tương đối ngắn của dầm ngang kết cấu phần trên. Kỹ sư địa kỹ thuật và kỹ sư kết cấu cần trao đổi với nhau khi có khả năng các spread footing riêng lẻ liền kề đỡ các cột trong cùng một trụ sẽ xuất hiện chênh lệch lún.
Trong một số trường hợp, tổng chuyển vị có thể là tiêu chí mang tính quyết định để bảo đảm các yêu cầu về khả năng sử dụng được đáp ứng. Một ví dụ là kết cấu nhịp giản đơn một nhịp, với độ lún dự tính tại cả hai mố vào khoảng vài phần mười mét. Mặc dù bản thân kết cấu có thể không gặp rủi ro về khả năng chịu lực hoặc tính năng khai thác do các chuyển vị tổng cộng nhưng tương đối đồng đều này, nhưng độ võng trũng hình thành trên trắc dọc mặt đường có thể không chấp nhận được xét về độ êm thuận xe chạy, an toàn hoặc mỹ quan.
5.3.2 Phân bố ứng suất thẳng đứng
Mục này trình bày các phương pháp xác định sự thay đổi của ứng suất thẳng đứng tổng cộng \((\Delta\sigma_v)\) do tải trọng móng từ spread footing gây ra. Các phương pháp tính sự thay đổi ứng suất thẳng đứng tổng cộng dưới đây giả thiết móng chịu tải phân bố đều. Có thể tham khảo các tài liệu khác (Poulos & Davis, 1974) đối với các dạng phân bố tải trọng khác.
Các phương pháp dựa trên lý thuyết đàn hồi là những phương pháp đơn giản nhất và được sử dụng phổ biến nhất để xác định sự thay đổi của ứng suất tổng cộng do áp lực móng tác dụng. Hầu hết các nghiệm giải tích khép kín dựa trên lý thuyết đàn hồi đều giả thiết rằng đất là đồng nhất, đẳng hướng và đàn hồi. Lambe và Whitman (1969) cho biết rằng các ứng suất dự báo theo những giả thiết này phù hợp khá tốt với số ít kết quả so sánh đã được thực hiện với ứng suất đo thực tế, nhưng các tác giả cũng chỉ ra rằng các ứng suất tính toán có thể sai số tới 25 phần trăm hoặc hơn. Các đồ thị ở Hình 5-9 đến 5-11 có thể được sử dụng để ước tính sự gia tăng ứng suất bên dưới các diện chịu tải hình tròn, dải và hình chữ nhật. Tải trọng được giả thiết là phân bố đều; đây là một giả thiết đã được chứng minh là cho kết quả hợp lý cho mục đích dự báo độ lún.
Lưu ý rằng nguyên lý chồng chất có thể được sử dụng cùng với Hình 5-11 để đánh giá ứng suất do các vùng chịu tải không đều hoặc nhiều vùng tải trọng gây ra. Chương trình FHWA EMBANK (Urzua, 1993) sử dụng các quy trình này để tính sự gia tăng ứng suất bên dưới nền đắp, và có thể dùng cho phân tích độ lún của nền đắp đường đầu cầu.

Hình 5-9: Ứng suất dưới tải phân bố đều trên vùng tròn (Lambe & Whitman, 1969).



Hình 5-11:
(a) Biểu đồ dùng để xác định ứng suất thẳng đứng bên dưới các góc của diện chịu tải hình chữ nhật trên vật liệu đàn hồi, đẳng hướng
(b) Tại điểm A, \(\Delta\sigma_v = \Delta q_s \times f(\eta,m)\) (theo Newmark, 1942)
Ngoài ra, phân bố ứng suất cũng có thể được xác định bằng cách giả thiết ứng suất phân bố theo tỷ lệ 2:1 bên dưới móng, như thể hiện ở Hình 5-12. Cách này đơn giản hơn nhiều trong tính toán và là một phép gần đúng khá chính xác đối với sự suy giảm ứng suất theo chiều sâu do tải trọng bề mặt tác dụng trên một diện tích hữu hạn.
Sự so sánh giữa phân bố 2:1 đơn giản hóa với phân bố ứng suất thực tế theo lý thuyết đàn hồi được thể hiện ở Hình 5-13. Phân bố này có thể được tính theo ứng suất tác dụng như sau:
\(\dfrac{\Delta \sigma_v}{q}=\dfrac{B_fL_f}{(B_f+Z)(L_f+Z)} \tag{5-17}\)
trong đó:
- \(\Delta \sigma_v\) = sự thay đổi ứng suất thẳng đứng tại độ sâu Z bên dưới cao độ đáy móng
- \(q\) = ứng suất do móng tác dụng tại cao độ đáy móng
- \(Z\) = độ sâu bên dưới cao độ đáy móng đến điểm đang xét, thường là tâm hoặc trung điểm của một lớp đất hay phân lớp đất nơi cần tính độ lún
- \(B_f\) = bề rộng móng
- \(L_f\) = chiều dài móng

theo phương pháp 2:1 (Chen & McCarron, 1991)

một diện tích hình vuông chịu tải phân bố đều,
được tính theo lý thuyết đàn hồi và được xấp xỉ bằng phương pháp 2:1 (Perloff, 1975).
5.3.3 Móng trên đất dính
Quá trình cố kết sơ cấp và cố kết thứ cấp của đất sét hoặc các tầng đất sét có thể gây ra độ lún đáng kể khi công trình được đặt trên nền đất dính bão hòa. Độ lún do cố kết sơ cấp có thể mất từ vài tuần đến vài năm mới hoàn thành. Hơn nữa, do các tính chất đất có thể thay đổi bên dưới móng, thời gian cố kết sơ cấp và lượng lún cũng có thể thay đổi theo vị trí của móng, dẫn đến lún lệch giữa các vị trí móng. Nếu các độ lún này không nằm trong giới hạn cho phép, công trình có thể sẽ không làm việc như mong đợi hoặc như thiết kế.
Khi một móng có bề rộng lớn so với chiều dày lớp đất có khả năng nén lún bên dưới nó, một phần lớn đất sẽ lún theo phương thẳng đứng (một chiều) với chuyển vị ngang rất nhỏ do các lực kìm hãm do các phần tử đất lân cận tác dụng. Dựa trên các số liệu đo chuyển vị ngang bên dưới nền đắp và bể chứa, thông thường có thể giả thiết rằng độ lún bên dưới móng cũng sẽ là một chiều ngay cả đối với các móng nông, với điều kiện áp dụng hệ số an toàn thích hợp đối với sức chịu tải (Terzaghi & Peck, 1967). Cần mở rộng lớp đất phía trên cao độ đáy móng đủ lớn để hạn chế lượng chuyển vị ngang. Kinh nghiệm cho thấy có thể dự báo khá tốt độ lún bằng cách giả thiết nén lún một chiều, miễn là hệ số an toàn đối với phá hoại sức chịu tải ít nhất bằng ba (3). Lý thuyết cố kết một chiều được trình bày trong mục này và được dùng để tính toán dự báo độ lún của móng nông trên đất dính.
Thí nghiệm cố kết một chiều (ASTM D-2435) trên các mẫu đất không xáo động được khuyến nghị để xác định tính nén lún của đất sét. Quy trình lấy mẫu không xáo động và quy định các cấp tải thích hợp để tiến hành thí nghiệm được mô tả chi tiết trong Soils and Foundations Workshop Reference Manual (Cheney & Chassie, 2000).
Một số tầng đất tự nhiên thuộc nhóm đất dính đã từng chịu nén mạnh trong lịch sử địa chất do tải trọng của sông băng, tải trọng của các lớp đất phủ phía trên mà sau đó đã bị xói mòn mất, hoặc do sự khô đi (mất nước) của đất. Những loại đất này được gọi là đất quá cố kết (preconsolidated hoặc overconsolidated) và đã từng chịu các ứng suất lớn hơn trong quá khứ so với hiện tại. Đất quá cố kết cũng có thể biểu hiện tính nén lún nhỏ hơn tới một bậc độ lớn so với đất cố kết tiêu chuẩn. Vì vậy, đất quá cố kết có thể được gia tải lại đến một mức ứng suất thấp hơn áp lực tiền cố kết mà không xuất hiện độ lún lớn. Việc nhận diện đất quá cố kết thông qua thí nghiệm cố kết có thể cho phép sử dụng móng nông trên các loại đất này một cách kinh tế hơn.
Độ lún do cố kết có thể được ước tính từ độ dốc của đường cong tỷ số rỗng trong thí nghiệm cố kết một chiều (e = thể tích lỗ rỗng/thể tích hạt rắn) theo logarit của ứng suất hữu hiệu thẳng đứng \((\sigma’_v)\). Hình 5-14 trình bày một đường cong cố kết điển hình từ thí nghiệm cố kết một chiều và quy trình khuyến nghị để xác định áp lực tiền cố kết \((\sigma’_p)\) do Casagrande (1936) đề xuất. Các định nghĩa dưới đây áp dụng cho các biến trong hình vẽ.

thẳng đứng từ thí nghiệm cố kết trên đất sét và quy trình Casagrande
để xác định áp lực tiền cố kết (theo Holtz & Kovacs, 1981).
Áp lực tiền cố kết, \(\sigma’_p\) – Áp lực lớn nhất mà đất đã từng chịu trong quá khứ. Cần xác định cẩn thận giá trị lớn nhất và nhỏ nhất của \(\sigma’_p\), rồi biểu diễn khoảng giá trị đó theo chiều sâu trên biểu đồ ứng suất hữu hiệu theo chiều sâu tại vị trí móng đang xét.
Chỉ số nén, \(C_c\) – Độ dốc của đoạn nén nguyên trên đường cong \(e-log( \sigma’_{vc})\). Nén nguyên là khi đất chịu ứng suất cao hơn áp lực tiền cố kết.
Chỉ số nén lại, (\C_R\) – Độ dốc của đường cong \(e-log( \sigma’_{vc})\) tại các mức áp lực nhỏ hơn áp lực tiền cố kết. Nói chung, chỉ số nén lại xấp xỉ bằng một phần mười trị số của chỉ số nén trong vùng nén nguyên.
Tỷ số rỗng ban đầu, \(e_o\) – Tỷ số rỗng tại ứng suất phủ ban đầu, \(\sigma’_{vo}\).
Tỷ số quá cố kết (OCR) được dùng để phân biệt đất quá cố kết với đất cố kết tiêu chuẩn, và được định nghĩa là tỷ số giữa áp lực tiền cố kết \((\sigma’_p)\) tại độ sâu (z) với ứng suất hữu hiệu thẳng đứng hiện hữu \((\sigma’_{vo})\) tại cùng độ sâu đó, z.
\(OCR=\dfrac{\sigma’_p}{\sigma’_{vo}} \tag{5-18}\)
Đất có OCR=1 là đất cố kết tiêu chuẩn, còn đất có OCR>1 là đất quá cố kết. Độ lớn của độ lún dự kiến phụ thuộc vào mức độ gia tải của lớp đất dưới nền so với trị số \(\sigma’_p\). Giá trị \(\sigma’_p\) được xác định từ các kết quả thí nghiệm cố kết một chiều đã hiệu chỉnh.
Sự xáo động mẫu có thể che lấp việc một loại đất là cố kết tiêu chuẩn hay quá cố kết, từ đó dẫn đến các ước tính độ lún kém chính xác về mặt định lượng. Vì vậy, cần thu được các mẫu có chất lượng cao nhất để xác định sức kháng cắt, tính nén lún và mức độ tiền cố kết của đất trong các thí nghiệm trong phòng. Sai số chủ yếu khi tính toán độ lún đối với đất sét đồng nhất nằm ở việc ước lượng mức độ quá cố kết (Peck và nnk., 1974). Người thiết kế cần sử dụng mọi bằng chứng hiện có để ước lượng mức độ tiền cố kết. Sức kháng cắt không thoát nước \((c_u)\) và chỉ số dẻo (\(PI\)) có thể được dùng để kiểm tra liệu một tầng đất có bị quá cố kết hay không (Peck và nnk, 1974). Tỷ số giữa sức kháng cắt không thoát nước \((c_u)\) và ứng suất hữu hiệu thẳng đứng đối với đất sét cố kết tiêu chuẩn đã được thiết lập tương quan với chỉ số dẻo (Skempton, 1948; Bjerrum & Simons, 1960) và có thể tính theo Phương trình 5-19.
\(\dfrac{c_u}{\sigma’_v}=0.10+0.004(PI)\tag{5-19}\)
Nếu các giá trị \(\dfrac{c_u}{\sigma’_v}\) ngoài hiện trường lớn hơn đáng kể so với giá trị theo Phương trình 5-19, thì đất đó có khả năng là đất quá cố kết. Hơn nữa, nếu tầng đất được biết là đất cố kết tiêu chuẩn (OCR=1), thì sức kháng cắt không thoát nước xác định từ thí nghiệm hiện trường hoặc trong phòng có thể được kiểm tra bằng tương quan này.
Độ lún do móng nông gây ra có thể được giữ ở mức tối thiểu nếu tác động tổng hợp của ứng suất hữu hiệu ban đầu và phần gia tăng ứng suất truyền xuống bởi móng nhỏ hơn áp lực tiền cố kết, \(\sigma’_p\). Khi điều kiện hiện trường và kinh tế cho phép, móng có thể được thiết kế để phân bố tải trọng công trình sao cho các ứng suất này vẫn nhỏ hơn ứng suất tiền cố kết.
Nhiều tương quan đã được thiết lập giữa chỉ số nén \(C_c\) và các thí nghiệm chỉ tiêu thông dụng đối với đất cố kết tiêu chuẩn, và một số tương quan được trình bày trong Bảng 5-11. Lưu ý rằng các giá trị của \(C_c\) trong các tương quan thực nghiệm này đối với đất dính có thể sai khác tới hệ số 5 (khi dùng đường xu thế trung bình). Không nên dùng chúng cho thiết kế cuối cùng của móng trên đất dính.
Độ lún cố kết sơ cấp, \(S_c\), của một móng đặt trên các lớp đất cố kết tiêu chuẩn \((\sigma’_p=\sigma’_{vo})\) có thể được tính theo:
\[S_c=\sum_{i=1}^{n}\dfrac{C_c}{1+e_o} \ H_o \ \log_{10} \dfrac{\sigma’_{vf}}{\sigma’_{vo}} \tag{5-20}\]
Bảng 5-11: Tương quan chỉ số nén \(C_c\)
| Tương quan | Loại đất | Nguồn |
|---|---|---|
| Cc = 0.009 (LL – 10) (1) | Đất sét có độ nhạy trung bình đến thấp (St < 4) (2) | Terzaghi & Peck (1967) |
| Cc = 0.0115 wn (3) | Đất hữu cơ, than bùn | ASCE (1994) |
| Cc = 0.04 đến 0.006 (4) | Bụi đồng nhất | Hough (1959) |
| Cc = 0.015 đến 0.02 (4) | Cát đồng nhất, rời | Hough (1959) |
| Cc = 0.004 đến 0.008 (4) | Cát đồng nhất, chặt | Hough (1959) |
1 LL = giới hạn chảy
2 St = độ nhạy = sức kháng cắt không thoát nước của mẫu không xáo động / sức kháng cắt không thoát nước của mẫu nhào trộn lại
3 wn = độ ẩm tự nhiên
4 Cc = 1/C’ trong đó C’ là chỉ số sức chịu tải (Hình 5-19). Lưu ý: Các giá trị này áp dụng cho đất không dính, nhưng được đưa vào đây để mục đích so sánh.
trong đó:
\(\qquad \qquad S_c\) = lún cố kết sơ cấp do biến thiên hệ số rỗng của đất;
\(\qquad \qquad C_c\) = chỉ số nén của phần cố kết tiêu chuẩn trên đường cong e–log\(\sigma’_v\);
\(\qquad \qquad e_0\) = hệ số rỗng ban đầu;
\(\qquad \qquad H_{0}\) = bề dày ban đầu của lớp n;
\(\qquad \qquad \sigma’_{v0}\) = ứng suất hữu hiệu thẳng đứng ban đầu tại tâm lớp n;
\(\qquad \qquad \sigma’_{vf}\) = ứng suất hữu hiệu thẳng đứng sau khi chịu tải tại tâm lớp n.
Ứng suất hữu hiệu thẳng đứng cuối cùng được tính bằng cách cộng phần gia tăng ứng suất do tải trọng móng gây ra vào ứng suất hữu hiệu thẳng đứng ban đầu. Sự gia tăng ứng suất hữu hiệu thẳng đứng được tính theo các phương pháp đã trình bày trong Mục 5.3.2. Độ lún tổng cộng sẽ bằng tổng độ nén lún của từng lớp trong số n lớp đất.
Thông thường, độ dốc \(C_c\) của đoạn nguyên dạng trên đường cong e-log \(\sigma’_v\) được xác định từ đường cong cố kết một chiều đã hiệu chỉnh, đo trên các mẫu lấy từ từng lớp đất liên quan trong cột địa tầng.
Đôi khi, số liệu cố kết được biểu diễn theo biến dạng thẳng đứng \((\varepsilon_v)\) thay vì tỷ số rỗng (Hình 5-15). Trong trường hợp này, độ dốc của đoạn nguyên dạng trên đường cong \(\varepsilon_v\) theo log \(\sigma’_v\) được ký hiệu là \(C_{c\varepsilon}\), và độ lún được tính theo Phương trình 5-21 đối với đất cố kết tiêu chuẩn.
\[
S_c=\sum_{i=1}^{n} H_o \ C_{c\varepsilon} \ \log_{10}\dfrac{\sigma’_{vf}}{\sigma’_{vo}} \tag{5-21}
\]

(a) Hệ số rỗng e
(b) biến dạng đứng so với ứng suất hữu hiệu thẳng đứng.
Nếu độ ẩm của một lớp đất sét nằm dưới mực nước ngầm gần với giới hạn dẻo hơn là giới hạn chảy, hoặc nếu tỷ số \(c_u/\sigma’_v\) vượt quá giá trị theo Phương trình 5-19, thì đất đó có khả năng là quá cố kết. Khi đó, trạng thái ứng suất ngoài hiện trường (trước khi tải trọng móng được tác dụng) sẽ nằm trên đoạn nén lại của đường cong e theo log \(\sigma’_v\). Khi móng truyền tải xuống lớp đất quá cố kết, trạng thái ứng suất trước hết sẽ đi theo đoạn nén lại của đường cong cho đến khi đạt tới áp lực tiền cố kết. Với các trạng thái ứng suất lớn hơn áp lực tiền cố kết, trạng thái ứng suất sẽ đi theo đoạn nén nguyên của đường cong. Độ lún đối với trường hợp có n lớp đất quá cố kết (OCR>1) được tính theo Phương trình 5-22 (Hình 5-16a) hoặc Phương trình 5-23 (Hình 5-16b).
\[
S_c=\sum_{i=1}^{n}\dfrac{H_o}{1+e_o}\left(C_r\log_{10}\dfrac{\sigma’_p}{\sigma’_{vo}}+C_c\log_{10}\dfrac{\sigma’_{vf}}{\sigma’_p}\right)
\tag{5-22}
\]
\[
S_c=\sum_{i=1}^{n}H_o\left(C_{r\varepsilon}\log_{10}\dfrac{\sigma’_p}{\sigma’_{vo}}+C_{c\varepsilon}\log_{10}\dfrac{\sigma’_{vf}}{\sigma’_p}\right)
\tag{5-23}
\]
Độ lún tổng cộng được tính bằng cách chia mỗi lớp đất có khả năng nén lún trong vùng ảnh hưởng, \(Z_i\), thành một số lượng đủ lớn các lớp con, n, sao cho ứng suất ban đầu và ứng suất cuối cùng tính tại tâm của mỗi lớp là đại diện cho ứng suất trung bình của lớp đó, và các tính chất vật liệu là tương đối không đổi trong phạm vi lớp. Trong các ứng dụng cầu đường bộ, chiều dày mỗi lớp thường từ 1.5 đến 3 m. Trong các trường hợp mà các lớp địa tầng khác nhau bao gồm đồng thời cả đất cố kết tiêu chuẩn và đất quá cố kết, độ lún được tính bằng cách sử dụng các tổ hợp thích hợp của các Phương trình 5-20 đến 5-23.

(a) Hệ số rỗng
(b) Biến dạng đứng theo ứng suất hữu hiệu thẳng đứng
5.3.3.1 Tốc độ cố kết theo thời gian
Cố kết xảy ra khi một lớp đất bão hòa có khả năng nén lún bị gia tải và nước bị ép thoát ra khỏi lớp đất đó. Thời gian cần thiết để quá trình cố kết (sơ cấp) kết thúc sẽ phụ thuộc vào cả tính nén lún và tính thấm của đất.
Tốc độ cố kết thường ít được quan tâm hơn đối với móng vì hư hỏng của kết cấu phần trên sẽ xảy ra khi độ lún lệch trở nên quá lớn. Móng nông được thiết kế để chịu được độ lún cuối cùng sẽ xảy ra trong suốt tuổi thọ của công trình, bất kể mất bao lâu để độ lún đó xảy ra. Nhìn chung, việc dự báo tốc độ lún theo thời gian của nền đắp đường dẫn trên đất sét yếu quan trọng hơn nhiều, đặc biệt nếu nền đắp được gia tải trước để cho phép sử dụng spread footing. Quy trình tính toán tốc độ lún theo thời gian vượt ra ngoài phạm vi của tài liệu này. Tuy nhiên, việc thiết kế nền đắp đường dẫn và gia tải trước để xử lý độ lún của nền đắp đường dẫn được trình bày trong Soils and Foundations Workshop Reference Manual (Cheney & Chassie, 2000). Các quy trình này có thể được sử dụng để kiểm soát khả năng xảy ra lún của nền đắp đường dẫn, qua đó cho phép sử dụng spread footing đặt trên lớp đất đắp đường dẫn. Ví dụ 3 trong Phụ lục B trình bày các nội dung của quy trình này.
5.3.3.2 Nén lún thứ cấp
Các loại đất dễ xảy ra nén lún thứ cấp (creep) nhìn chung có chất lượng quá kém để xem xét làm nền đỡ cho móng nông. Ngay cả khi độ lún cố kết sơ cấp có thể được kiểm soát bằng gia tải trước, thì mức độ không chắc chắn liên quan đến việc dự báo độ lớn của độ lún nén thứ cấp thường vẫn quá lớn để có thể đặt spread footing trên hoặc phía trên các loại đất dễ bị creep một cách tin cậy.
5.3.4 Móng trên đất không dính
Thiết kế móng nông trên đất rời (cát, sỏi và bụi không dẻo), ở trạng thái tự nhiên tại hiện trường hay ở dạng engineered fill, thường bị chi phối bởi khả năng lún hơn là bởi giới hạn sức chịu tải. Vì vậy, phương pháp dùng để ước tính độ lún của móng trên đất rời cần phải đủ tin cậy sao cho độ lún dự báo hiếm khi nhỏ hơn độ lún quan trắc được, nhưng vẫn phải đủ chính xác để thiết kế không trở nên quá bảo thủ. Phần lớn các phương pháp ước tính độ lún dựa trên lý thuyết đàn hồi, dựa trên các tương quan bán thực nghiệm với các cơ sở dữ liệu lớn từ thí nghiệm đất.
Các phương pháp ước tính độ lún dựa trên lý thuyết đàn hồi có thể kém tin cậy do khó xác định mô đun đàn hồi của đất hạt. Việc xác định mô đun là khó khăn vì lấy được mẫu đất rời thực sự không xáo động không phải là việc đơn giản, cũng không thực tế đối với thiết kế móng thường. Mô đun của đất rời có thể được ước tính từ các thí nghiệm hiện trường, nhưng ngay cả khi đó độ tin cậy vẫn có thể thay đổi.
Do đó, các phương pháp bán thực nghiệm là những kỹ thuật chủ yếu được dùng để ước tính độ lún của móng nông trên đất rời. Các phương pháp này đã được thiết lập tương quan với các cơ sở dữ liệu lớn từ các thí nghiệm đơn giản và ít tốn kém như Thí nghiệm xuyên tiêu chuẩn (SPT) và Thí nghiệm xuyên côn (CPT).
Hai nghiên cứu quan trọng (Burland & Burbidge, 1984; và Gifford và nnk., 1987) về móng nông trên cát đã bao gồm 76 hồ sơ trường hợp độc lập có liên quan đến móng nông cầu đường bộ. Nghiên cứu của Gifford và nnk. đã tổng hợp số liệu từ 21 hồ sơ trường hợp để so sánh khả năng dự báo của 11 phương pháp tính độ lún của móng nông trên cát.
Gifford và nnk. đã thực hiện một chương trình quan trắc để đánh giá ứng xử lún theo thời gian thực tế của các móng spread footing điển hình trên đất không dính. Trong khoảng thời gian 3 năm, họ đã theo dõi 21 móng cầu dùng spread footing nông từ giai đoạn bắt đầu thi công cho đến khi hoàn thành công trình. Dữ liệu từ chương trình quan trắc này sau đó được sử dụng để đánh giá độ chính xác của một số phương pháp tính độ lún. Trong nghiên cứu cuối cùng, Gifford và nnk. đã đánh giá các phương pháp của Burland & Burbidge (1984), D’Appolonia và nnk. (1968), Hough (1959), Peck & Bazaraa (1969), Schmertmann (1970), và Oweis (1979). Đối với từng phương pháp trong năm phương pháp dự báo độ lún này, Gifford và nnk. đã biểu diễn độ lún đo được theo độ lún tính toán cho từng móng cầu như thể hiện trên Hình 5-17.
Vào thập niên 1990, FHWA đã tài trợ một nghiên cứu nhằm kiểm tra ứng xử tải trọng–độ lún của các móng lớn trên đất không dính (Briaud & Gibbens, 1994; Briaud & Gibbens, 1995; và Briaud và nnk., 2000). Nghiên cứu này bao gồm việc đo độ lún khi tải trọng thẳng đứng được tác dụng lên năm móng thử nghiệm hình vuông có kích thước từ 1 m × 1 m đến 3 m × 3 m. Điều kiện địa tầng dưới bề mặt tại Khu thí nghiệm địa kỹ thuật quốc gia ở cơ sở Riverside của Đại học Texas A&M đã được đánh giá rất chi tiết bằng nhiều quy trình khảo sát và thí nghiệm khác nhau, bao gồm SPT, CPT, PMT, thí nghiệm dilatometer, thí nghiệm nén ba trục, thí nghiệm cắt trong lỗ khoan, và các phép đo khác.
Trong khuôn khổ một hội nghị chuyên đề dự báo, 31 tác giả đã nộp các bài báo với các dự báo về tải trọng gây ra độ lún 25 mm (1 in). Mặc dù đã có nỗ lực so sánh giữa độ lún dự báo và độ lún đo được đối với nhiều phương pháp tính độ lún do các tác giả sử dụng, nhưng kết luận đưa ra là có quá nhiều biến động trong cách các tác giả khác nhau áp dụng các phương pháp nên không thể rút ra các kết luận có giá trị về độ tin cậy và độ chính xác của các phương pháp đó. Kết quả phát triển hứa hẹn nhất từ nghiên cứu này là một phương pháp tính quan hệ giữa độ lún và tải trọng tác dụng dựa trên số liệu pressuremeter. Phương pháp này được trình bày tóm tắt trong Mục 5.3.4.3. Phương pháp này đặc biệt đáng quan tâm trong phân tích dựa trên biến dạng (trái với phân tích dựa trên lực), và có triển vọng trong việc đánh giá các trường hợp tải trọng cực hạn như động đất. Phương pháp này cũng có thể có giá trị đáng kể trong việc triển khai thiết kế theo hệ số tải trọng và sức kháng (LRFD), như đã thảo luận trong Phụ lục C.

Khi xem xét mức độ đáp ứng mong đợi của bất kỳ phương pháp ước tính độ lún nào, các tiêu chí sau là quan trọng:
- Phương pháp phải đáng tin cậy. Nghĩa là, phương pháp đó phải dự báo độ lún với độ chính xác hợp lý trong một phạm vi điều kiện đất tương đối rộng.
- Phương pháp không được có độ lệch chuẩn lớn khi so sánh giữa độ lún dự báo và độ lún thực tế. Một phương pháp có độ lệch chuẩn lớn theo nghĩa này có thể dẫn đến việc đánh giá thiếu độ lún ở mức đáng kể, và điều đó có thể làm cho công trình làm việc kém.
- Phương pháp phải dễ áp dụng và dựa trên các số liệu đặc trưng của hiện trường, sẵn có và ít tốn kém để thu thập.
- Phương pháp phải có lịch sử áp dụng đủ dài với các kết quả thỏa đáng.
Thật không may, không có phương pháp nào để ước tính độ lún của đất hạt rời đáp ứng xuất sắc tất cả các tiêu chí này. Tuy nhiên, các nghiên cứu đã thảo luận ở trên kết luận rằng ít nhất một số phương pháp đáp ứng khá tốt phần lớn các tiêu chí đó. Dựa trên các tiêu chí này, hai phương pháp đã được lựa chọn làm các quy trình hiện đang được ưu tiên và khuyến nghị để ước tính độ lún của móng trên đất hạt rời: phương pháp Hough và phương pháp D’Appolonia. Phương pháp đường cong tải trọng–độ lún do Briaud phát triển gần đây cũng được trình bày như một phương pháp mới đầy hứa hẹn để tính độ võng của spread footing trên đất không dính (cụ thể là cát) trong một khoảng tải trọng tác dụng, khi có sẵn số liệu thí nghiệm pressuremeter.
Số liệu từ nghiên cứu của Gifford cho thấy, trung bình, phương pháp Hough dự báo độ lún lớn hơn thực tế khoảng 2 lần, và do đó kém mong muốn hơn về mặt độ chính xác. Tuy nhiên, phương pháp Hough tương đối đáng tin cậy ở chỗ nó cho kết quả bảo thủ và nhất quán. Nghiên cứu của Gifford cho thấy phương pháp này có độ lệch chuẩn tương đối nhỏ giữa các giá trị tính toán và giá trị đo được ((s_o = 0.82)). Phương pháp Hough dựa trên thí nghiệm SPT và dễ áp dụng, chi phí thấp. Đáng chú ý hơn, hiện nay phương pháp này đã được nhiều cơ quan đường bộ sử dụng rộng rãi, vì vậy nó có một lịch sử ứng dụng thỏa đáng rất lớn trong thiết kế móng nông cho cầu trên khắp Hoa Kỳ. Nó cũng có ưu điểm là xét đến một cách hợp lý cả sự gia tăng ứng suất gây ra bên dưới móng và sự phân lớp của các tầng đất.
Nghiên cứu của Gifford cho thấy phương pháp D’Appolonia là phương pháp có độ chính xác thống kê cao nhất trong số các phương pháp được đánh giá. Độ lệch chuẩn giữa các giá trị tính toán và giá trị đo được cũng là nhỏ nhất trong số các phương pháp được nghiên cứu ((s_o = 0.51)). Phương pháp này tính độ lún dựa trên mô đun nén lún của cát được thiết lập tương quan với thí nghiệm SPT; do đó, nó dễ áp dụng và ít tốn kém. Phương pháp này còn có ưu điểm bổ sung là xét rõ ràng đến ảnh hưởng của gia tải trước của đất, mặc dù cơ sở dữ liệu dùng để thiết lập tương quan các giá trị mô đun của đất đã gia tải trước còn hạn chế. Những nhược điểm hiện tại có thể có của phương pháp D’Appolonia bao gồm:
- Phương pháp này có lịch sử áp dụng còn hạn chế đối với cầu đường bộ, đặc biệt khi so với phương pháp Hough.
- Phương pháp này không xét rõ ràng đến sự phân lớp của đất.
- Sự phân bố ứng suất bên dưới khu vực chịu tải được xét đến thông qua một hệ số hiệu chỉnh thực nghiệm, nhưng hệ số này không gợi ra một chiều sâu giới hạn của vùng ảnh hưởng ứng suất.
- Quy mô của cơ sở dữ liệu được sử dụng để phát triển tương quan mô đun của phương pháp theo giá trị (N) của SPT còn hạn chế.
- Vì phương pháp này “chính xác” hơn về mặt thống kê nên trong ứng dụng thực tế nó cũng có khả năng không bảo thủ. Nghĩa là, khoảng một nửa số liệu có phân bố chuẩn sẽ rơi vào phía không bảo thủ của quan hệ giữa độ lún dự báo và độ lún đo được.
Số liệu từ năm thí nghiệm gia tải toàn tỷ lệ (Briaud & Gibbens, 1995) đã được tác giả sử dụng để so sánh mức độ làm việc của cả phương pháp Hough và phương pháp D’Appolonia trong việc dự báo tải trọng gây ra 25 mm (1 in) độ lún. Lưu ý rằng đây không phải là một dự báo alpha thực sự. Tuy vậy, số liệu về mức độ làm việc ngoài hiện trường từ năm thí nghiệm gia tải này là rất tốt, và hai phương pháp đã được áp dụng một cách chặt chẽ nhất có thể theo các quy trình được mô tả dưới đây. Việc so sánh đã cho ra các kết luận sau:
- Phương pháp Hough được nhận thấy là dự báo độ lún lớn hơn thực tế với hệ số trung bình khoảng 1.8 đối với năm móng thử (độ lệch chuẩn, \(s_o\), bằng 0.53). Tuy nhiên, trong không trường hợp nào phương pháp Hough dự báo độ lún nhỏ hơn độ lún quan trắc được.
- Phương pháp D’Appolonia dự báo độ lún nhỏ hơn thực tế với hệ số trung bình khoảng 0.77 đối với năm móng thử, nhưng nhìn chung độ chính xác tốt hơn Hough, và độ phân tán của các giá trị độ lún dự báo cũng nhỏ hơn (độ lệch chuẩn, \(s_o = 0.22\)).
Do đó, số liệu từ năm thí nghiệm gia tải này nhìn chung đã củng cố các kết luận từ các nghiên cứu của Gifford và nnk. và Burland & Burbidge.
Vì vậy, hiện nay khuyến nghị sử dụng phương pháp Hough như công cụ thiết kế và phân tích chính. Phương pháp D’Appolonia hoặc phương pháp tải trọng–độ lún có thể được dùng như các phương án thay thế, hoặc khi cần một ước tính độ lún chính xác hơn, với nhận thức rằng các phương pháp thay thế này có lịch sử áp dụng ít hơn trong thiết kế cầu đường bộ. Dĩ nhiên, nếu một phương pháp khác được biết đến ở địa phương hoặc khu vực là cho các ước tính độ lún trên đất hạt rời đáng tin cậy hơn, và phương pháp đó đáp ứng các tiêu chí đã nêu ở trên, thì kỹ sư địa kỹ thuật nên vận dụng xét đoán chuyên môn và sử dụng phương pháp tốt nhất hiện có.
(dự báo alpha)
Trong địa kỹ thuật, thuật ngữ “dự đoán alpha” (Alpha prediction) đề cập đến một loại dự đoán mù (blind prediction) được thực hiện trong các thử nghiệm tải trọng hiện trường.
Khái niệm này được T.W. Lambe (1973) phân loại để đánh giá độ tin cậy của các phương pháp dự báo trong kỹ thuật dân dụng. Dưới đây là ý nghĩa cụ thể:
1. Phân loại dự đoán của Lambe
Để hiểu “dự đoán alpha”, ta cần xem xét vị trí của nó trong hệ thống phân loại:
- Dự đoán Alpha (Type A): Dự đoán được thực hiện trước khi thử nghiệm diễn ra. Người dự đoán không hề biết kết quả thực tế. Đây là bài kiểm tra thực sự về khả năng của một mô hình lý thuyết hoặc phương pháp tính toán.
- Dự đoán Bravo (Type B): Dự đoán được thực hiện trong khi thử nghiệm đang tiến hành nhưng kết quả chưa được công bố.
- Dự đoán Charlie (Type C): Dự đoán được thực hiện sau khi thử nghiệm đã hoàn tất và kết quả đã được biết. Đây thực chất là quá trình “khớp dữ liệu” (back-calculation) để điều chỉnh mô hình.
2. Tại sao đoạn văn của bạn lại ghi “không phải là dự đoán alpha thực sự”?
Trong tài liệu bạn gửi, tác giả lưu ý rằng đây “không phải là một dự đoán alpha thực sự” vì có thể:
- Tác giả đã biết kết quả của các thử nghiệm tải trọng trước khi áp dụng phương pháp Hough và D’Appolonia.
- Quá trình tính toán này nhằm mục đích so sánh và đối chiếu (Type C) hơn là dự báo mù để kiểm tra độ nhạy của phương pháp.
3. Ý nghĩa trong thực tế
Dự đoán alpha cực kỳ quan trọng vì nó loại bỏ “định kiến xác nhận”. Trong kỹ thuật móng, nếu bạn biết trước móng lún 25 mm, bạn sẽ có xu hướng chọn các thông số đất nền sao cho kết quả tính toán ra gần con số đó nhất. Một dự đoán alpha buộc kỹ sư phải tin tưởng hoàn toàn vào dữ liệu khảo sát địa chất và công thức lý thuyết của mình.
Tóm lại: Dự đoán alpha là dự đoán “xịn” nhất vì nó được đưa ra khi chưa biết đáp án, giúp đánh giá khách quan sai số của các phương pháp như Hough hay D’Appolonia mà bạn đang nghiên cứu.
5.3.4.1 Phương pháp Hough
Hough (1959) đã phát triển một phương pháp thực nghiệm để dự báo độ lún của móng nông trên đất không dính, theo cùng cách tiếp cận như phương pháp dùng để tính độ lún cố kết của các lớp đất sét. Lưu ý rằng phương pháp này chỉ áp dụng cho đất không dính cố kết tiêu chuẩn. Cheney và Chassie (2000) khuyến nghị rằng số búa SPT cần được hiệu chỉnh theo áp lực phủ trước khi thiết lập tương quan giữa giá trị N và chỉ số sức chịu tải, C’. Một hiệu chỉnh áp lực phủ theo Bazaraa (1967) đã được Cheney và Chassie (2000) khuyến nghị. Kể từ đó, nhiều nhà nghiên cứu đã nghiên cứu ảnh hưởng của ứng suất phủ lên giá trị N của SPT, chủ yếu nhằm phục vụ các quy trình đánh giá nguy cơ hóa lỏng. Sự đồng thuận gần đây của National Center for Earthquake Engineering Research (NCEER) năm 1996 và 1998 (Youd và nnk., 2001) kết luận rằng hiệu chỉnh do Liao & Whitman (1986) đề xuất (thể hiện ở Hình 5-18) có thể được dùng cho các ứng dụng kỹ thuật thông thường. Vì vậy, hiệu chỉnh của Liao & Whitman được đưa vào đây như một phần của quy trình Hough, đặc biệt vì nó dễ tính toán và có thể sử dụng mà không cần biểu đồ trong các bảng tính đơn giản. Nền đất được chia thành các lớp, và sự thay đổi ứng suất hữu hiệu thẳng đứng tại giữa chiều dày mỗi lớp do tải trọng tác dụng được ước tính bằng lý thuyết đàn hồi.
Tổng độ lún theo phương pháp Hough được tính như sau:
1. Hiệu chỉnh số búa SPT theo ứng suất phủ bằng Hình 5-18.
2. Xác định chỉ số sức chịu tải (C’) từ Hình 5-19 bằng cách sử dụng số búa SPT đã hiệu chỉnh, N’, xác định ở Bước 1.
3. Chia mặt cắt địa tầng dưới đất thành các lớp dày xấp xỉ 3 m (10 ft) theo địa tầng, đến độ sâu khoảng ba lần bề rộng móng.
4. Tính ứng suất hữu hiệu thẳng đứng, \(\sigma’_{vo}\), tại trung điểm của mỗi lớp và chỉ số sức chịu tải trung bình của lớp đó.
5. Tính phần gia tăng ứng suất tại trung điểm của mỗi lớp, \(\Delta \sigma_v\), bằng Hình 5-9, 5-10 hoặc 5-11, hoặc bằng phương pháp 2:1 (Hình 5-12).
6. Tính độ lún của từng lớp, \(\Delta H\), dưới tải tác dụng, theo công thức:
\(\Delta H = H_0\dfrac{1}{C’}\log\left(\dfrac{\sigma’_{v0}+\Delta\sigma_vf}{\sigma’_{v0}}\right) \tag{5-24}\)
7. Cộng các \(\Delta H\) của tất cả các lớp để được tổng độ lún.
Hệ số hiệu chỉnh cho số búa SPT (N)

\(\sigma’_{v0}\) (theo Liao & Whitman, 1986)



Lưu ý: Trong hình trên, “Table” chỉ bảng tổng hợp quan hệ tải–lún từ 7 hồ sơ công trình (gồm 6 móng cầu), do D’Appolonia et al., 1970. “Site” chỉ dữ liệu tải–lún tại hiện trường do D’Appolonia et al., 1968 thu thập ở một nhà máy thép lớn tại bắc Indiana.
5.3.4.2 Phương pháp D’Appolonia
Phương pháp D’Appolonia tính độ lún theo phương trình cơ bản sau:
\[
\Delta H=\left(\dfrac{\Delta \sigma_v B_f}{M}\right)\mu_o\mu_1
\tag{5-25}
\]
trong đó:
\(\qquad \qquad \Delta H = \) độ lún trong cát hoặc cát và sỏi
\(\qquad \qquad \Delta \sigma_v = \) ứng suất tác dụng bên dưới móng
\(\qquad \qquad B_f = \) bề rộng móng
\(\qquad \qquad \mu_o = \) hệ số hiệu chỉnh do chiều sâu chôn móng – xem Hình 5-20 (không thứ nguyên)}
\(\qquad \qquad \mu_1 = \) hệ số hiệu chỉnh do chiều dày lớp cát – xem Hình 5-20 (không thứ nguyên)
\(\qquad \qquad M = \) mô đun nén lún của cát – xem Hình 5-21
Có thể sử dụng bất kỳ hệ đơn vị nhất quán nào cho \(\Delta H\), \(\Delta \sigma_v\), \(B_f\) và \(M\).
Có thể tìm thấy phần thảo luận thêm về việc áp dụng và sử dụng các phương pháp khác để tính độ lún trong NHI Shallow Foundations Reference Manual (Munfakh và nnk., 2000). Các phương pháp được trình bày trong tài liệu tham khảo này bao gồm Schmertmann (1970), Peck & Bazaraa (1969), và Terzaghi & Peck (1967).
5.3.4.3 Phương pháp đường cong tải trọng – độ lún
Trong các nghiên cứu gần đây, Briaud và các cộng sự (Briaud & Gibbens, 1994; Briaud & Gibbens, 1995; và Briaud và nnk., 2000) đã phát triển một quy trình để ước tính độ lún của spread footing trên cát bằng số liệu thí nghiệm pressuremeter (PMT). Họ phát triển quy trình này vì đã quan sát thấy chuyển động của đất bên dưới móng trong các thí nghiệm gia tải lớn ngoài hiện trường có tính tương đồng với chuyển động của đất xung quanh đầu dò pressuremeter giãn nở trong quá trình thí nghiệm pressuremeter. Quy trình được thực hiện như sau:
- Thực hiện các thí nghiệm pressuremeter trong lỗ khoan tạo sẵn trong phạm vi chiều sâu ảnh hưởng của móng, thường tại các độ sâu bằng 0.5B, 1B và 2B bên dưới cao độ đặt móng. Xem The Pressuremeter Test for Highway Applications (Briaud, 1989) hoặc The Pressuremeter (Briaud, 1992) để biết chi tiết về cách tiến hành thí nghiệm và xử lý số liệu thí nghiệm.
- Xử lý số liệu và lấy trung bình các đường cong pressuremeter thành một đường cong pressuremeter duy nhất.
- Chuyển đổi từng điểm của đường cong pressuremeter trung bình thành đường cong tải trọng–độ lún của móng bằng các Phương trình từ 5-26 đến 5-35. Phương trình 5-26 nhằm bảo đảm tính tương thích biến dạng. Áp lực giới hạn của móng được định nghĩa là áp lực đáy móng tương ứng với độ lún bằng 10 phần trăm bề rộng móng \((\rho/B = 0.1\)). Tương ứng, áp lực giới hạn của pressuremeter được định nghĩa là áp lực đạt được khi tỷ số gia tăng bán kính khoang \(\Delta R/R_0\) bằng 0.42. Phương trình 5-26 bảo đảm rằng khi \(\rho/B = 0.1\), thì \(\Delta R/R_0 = 0.42\), và do đó hai áp lực giới hạn này là tương ứng với nhau.
\[
\dfrac{\rho}{B}=\dfrac{1}{4.2}\left(\dfrac{\Delta R}{R_0}\right)
\tag{5-26}
\]
trong đó:
\(\qquad \qquad \rho = \) độ lún thẳng đứng của móng
\(\qquad \qquad B = \) bề rộng móng
\(\qquad \qquad \Delta R/R_0 = \) tỷ số giữa độ gia tăng bán kính khoang và bán kính ban đầu từ thí nghiệm pressuremeter trung bình
Khi Phương trình 5-26 được thỏa mãn, Phương trình 5-27 được dùng để chuyển đổi áp lực pressuremeter, \(p_p\), thành áp lực móng, \(p_f\), thông qua hàm gamma, \(\Gamma\).
\[
p_f = f_{L/B} \ f_e \ f_\delta f_{\beta,d} \ \Gamma(p_p) \tag{5-27}
\]
trong đó:
\(\qquad \qquad p_f = \) áp lực móng sau khi chuyển đổi
\(\qquad \qquad p_p = \) áp lực pressuremeter
\(\qquad \qquad \Gamma = \) hàm gamma được tính theo Phương trình 5-28
\(\qquad \qquad f_{L/B} = \) hệ số ảnh hưởng của hình dạng móng, Phương trình 5-29
\(\qquad \qquad f_e = \) hệ số ảnh hưởng của độ lệch tâm tải trọng, các Phương trình 5-30 và 5-31
\(\qquad \qquad f_\delta = \) hệ số ảnh hưởng của độ nghiêng tải trọng, các Phương trình 5-32 và 5-33
\(\qquad \qquad f_{\beta,d} = \) hệ số ảnh hưởng của mái dốc, các Phương trình 5-34 và 5-35
Hàm gamma, \(\Gamma\), chuyển đổi áp lực pressuremeter, \(p_p\), thành áp lực móng, \(p_f\), đối với móng vuông chịu tải thẳng đứng tại tâm trên bề mặt đất bằng phẳng. Hàm này được xây dựng từ số liệu của 22 thí nghiệm gia tải móng tại 9 địa điểm khác nhau có nền cát và bụi. Hàm gamma được khuyến nghị dùng cho thiết kế được chọn là hàm trung bình đi qua các điểm số liệu trừ đi một độ lệch chuẩn để thiên về phía an toàn (bảo thủ). Hàm gamma được tính theo Phương trình 5-28.
\[
\Gamma=\dfrac{0.9}{100\left(\dfrac{\rho}{B}\right)+0.5}+0.8 \tag{5-28}
\]
trong đó:
\(\qquad \qquad \rho = \) độ lún thẳng đứng của móng
\(\qquad \qquad B = \) bề rộng móng
Các hệ số ảnh hưởng, (f), đối với các điều kiện tải trọng phức tạp hơn được xây dựng từ các mô phỏng số vì không có đủ thí nghiệm gia tải cho các trường hợp tải trọng này để thiết lập tương quan trực tiếp các hệ số với số liệu làm việc thực tế. Các hệ số ảnh hưởng này đã được so sánh với số ít các thí nghiệm gia tải hiện có áp dụng được và với các khuyến nghị hiện hành khác về hệ số ảnh hưởng.
Hệ số ảnh hưởng do hình dạng móng có thể được tính theo Phương trình 5-29.
\[f_{L/B}=0.8+0.2\left(\dfrac{B}{L}\right) \tag{5-29}\]
trong đó:
\(\qquad \qquad L = \) chiều dài móng
\(\qquad \qquad B =\) bề rộng móng
Hệ số ảnh hưởng do tải trọng lệch tâm có thể được tính theo các Phương trình 5-30 và 5-31, tùy theo vị trí độ lún đang xét.
\[f_e = 1-0.33\left(\dfrac{e}{B}\right) \qquad \qquad \qquad \text{tại tâm móng} \tag{5-30}\]
\[f_e = 1-\left(\dfrac{e}{B}\right)^{0.5} \qquad \qquad \qquad \text{tại mép móng} \tag{5-31}\]
trong đó:
\(\qquad \qquad B = \) bề rộng móng
\(\qquad \qquad e = \) khoảng lệch tâm do mô men tác dụng theo phương của B
Hệ số ảnh hưởng do tải trọng nghiêng có thể được tính theo các Phương trình 5-32 và 5-33, tùy theo vị trí độ lún đang xét.
\[f_\delta=1-\left(\dfrac{\delta}{90}\right)^2 \qquad \qquad \qquad \text{tại tâm móng} \tag{5-32}\]
\[f_\delta=1-\left(\dfrac{\delta}{360}\right)^{0.5} \qquad \qquad \qquad \text{tại mép móng} \tag{5-33}\]
trong đó:
\(\qquad \qquad \delta = \) độ nghiêng của tải trọng so với phương thẳng đứng, tính bằng độ
Hệ số ảnh hưởng đối với móng đặt gần mái dốc có thể được tính theo các Phương trình 5-34 và 5-35, tùy theo độ dốc của mái và khoảng cách từ móng đến mái dốc.
\[ f_{\beta,d}=0.8\left(1+\dfrac{d}{B}\right)^{0.1} \qquad \qquad \beta=18.4^\circ \text{ (mái dốc 3:1)} \tag{5-34}\]
\[ f_{\beta,d}=0.7\left(1+\dfrac{d}{B}\right)^{0.15} \qquad \qquad \beta=26.6^\circ \text{ (mái dốc 2:1)} \tag{5-35}\]
trong đó:
\(\qquad \qquad \qquad \beta = \) độ dốc mái đo từ phương ngang
\(\qquad \qquad \qquad d = \) khoảng cách ngang từ đỉnh mái đến mép gần nhất của móng
\(\qquad \qquad \qquad B = \) bề rộng móng
Dựa trên các số liệu so sánh đã được nghiên cứu đến nay, phương pháp đường cong tải trọng–độ lún cho thấy triển vọng đáng kể trong việc dự báo chính xác độ lún của spread footing trên đất không dính trong một phạm vi tải trọng tác dụng khá rộng. Vì vậy, phương pháp này có thể tỏ ra đặc biệt hữu ích trong thiết kế dựa trên biến dạng. Thiết kế dựa trên biến dạng không được trình bày trong tài liệu này, nhưng là hướng có triển vọng đối với việc phân tích công trình chịu các điều kiện tải trọng cực hạn, chẳng hạn như động đất.
Các điểm quan trọng cần lưu ý khi sử dụng phương pháp đường cong tải trọng–độ lún:
- Các nhà nghiên cứu phát triển phương pháp này thừa nhận rằng đây là một phương pháp mới và cần được sử dụng song song với các cách tiếp cận thiết kế hiện có trên các dự án cầu toàn tỷ lệ, có kèm theo quan trắc mức độ làm việc, trước khi phương pháp này có thể được áp dụng như một công cụ thiết kế thông dụng đã được kiểm chứng.
- Thí nghiệm pressuremeter hiện vẫn được sử dụng không thường xuyên so với SPT, do đó năng lực thực hiện và diễn giải kết quả thí nghiệm này tại địa phương có thể còn hạn chế.
- Phương pháp này xây dựng quan hệ tải trọng–độ lún theo dạng chuyển vị chuẩn hóa (\(\rho/B)\). Dạng này cần được quy đổi về quan hệ giữa chuyển vị và bề rộng móng đối với một trị số độ lún cho phép (được xác định theo các yêu cầu làm việc của công trình) để có thể sử dụng trong các quy trình thiết kế khuyến nghị của tài liệu GEC này (xem Chương 6 và các ví dụ thiết kế trong Phụ lục B và C).
5.3.5 Móng trên nền đắp có kết cấu (structural fills)
Việc tính toán độ lún trong structural fills do spread footing đặt trong nền đắp gây ra đòi hỏi phải có một giả thiết về tính nén lún của vật liệu đắp đã thi công. Vì nền structural fill phải được thi công bằng vật liệu hạt có chất lượng tốt, nên việc ước tính độ lún thường phù hợp với việc áp dụng các phương pháp đã thảo luận trong mục trước. Để thực hiện điều đó, cần đưa ra một giả thiết về giá trị SPT N đại diện của lớp đắp đã được đầm chặt.
Nghiên cứu của Gifford và nnk. (1987) đã sử dụng giá trị SPT N đã hiệu chỉnh (theo áp lực phủ) bằng 32 nhát/ft làm giá trị đại diện để ước tính độ lún trong nền structural fill. Giá trị này tương ứng với độ chặt tương đối, \(D_R\), khoảng 85 phần trăm tại ứng suất phủ khoảng 100 kPa (1 tsf) (Hình 4-1). Các tương quan giữa độ chặt tương đối và phần trăm độ chặt tương đối cho thấy giá trị \(D_R\) này tương ứng với độ chặt tương đối bằng hoặc lớn hơn 95 phần trăm (Lee & Singh, 1971), và do đó xấp xỉ tiêu chuẩn đầm chặt đối với nền structural fill được đa số các cơ quan đường bộ sử dụng. Mặc dù Lee & Singh (1971) không nêu rõ tiêu chuẩn độ chặt tương đối (tức là Proctor tiêu chuẩn hay Proctor cải tiến), nhưng các so sánh được thực hiện cho đất hạt và có đề cập đến phương pháp Proctor cải tiến. Vì vậy, có thể giả định rằng các so sánh này dựa trên thí nghiệm Proctor cải tiến. Khi không có các số liệu SPT khác trong nền structural fill, độ lún của một móng đặt trên nền structural fill có thể được ước tính bằng cách giả định giá trị (N’) đã hiệu chỉnh bằng 32 và sử dụng phương pháp Hough để tính độ lún.
5.3.6 Móng trên IGM và đá
Như đã trình bày trong Mục 3.1.3, trong tài liệu GEC này giả thiết rằng các vật liệu trung gian địa chất (IGM) đủ cứng và đủ bền để các xét đến về sức chịu tải và độ lún nói chung sẽ không chi phối thiết kế của spread footing đặt trên các vật liệu đó. Nếu cần ước tính độ lún cho móng nông đặt trên IGM hoặc đá, thì một phương pháp dựa trên lý thuyết đàn hồi nhìn chung sẽ là cách tiếp cận tốt nhất. Cũng như đối với bất kỳ phương pháp ước tính độ lún nào dùng lý thuyết đàn hồi, một hạn chế lớn là khả năng của kỹ sư trong việc ước tính chính xác (các) tham số mô đun mà phương pháp yêu cầu.
Phương trình 5-36 có thể được dùng để tính độ lún trên đá dựa trên mô đun đàn hồi Young của đá nguyên khối. Trong phương trình này, ứng suất tác dụng tại đỉnh bề mặt đá có thể được tính bằng các phương pháp phân bố ứng suất trình bày trong các Hình 5-9 đến 5-12.
\[
\delta_v=\dfrac{C_d \ \Delta \sigma_v \ B_f(1-\nu^2)}{\alpha_E E_{IR}} \tag{5-36}
\]
trong đó:
\(\qquad \qquad \delta_v = \) độ lún thẳng đứng tại bề mặt
\(\qquad \qquad C_d = \) hệ số hình dạng và độ cứng (Bảng 5-12)
\(\qquad \qquad \Delta \sigma_v = \) độ gia tăng ứng suất tại đỉnh bề mặt đá do tải trọng móng tác dụng
\(\qquad \qquad B_f = \) bề rộng hoặc đường kính móng
\(\qquad \qquad \nu = \) hệ số Poisson (Bảng 5-13)
\(\qquad \qquad E_{IR} = \) mô đun đàn hồi Young của đá nguyên khối (Bảng 5-14)
\(\qquad \qquad \alpha_E = \) hệ số giảm mô đun theo RQD (Phương trình 5-37)
\[\alpha_E = 0.0231(RQD)-1.32 \ge 0.15 \tag{5-37}\]
trong đó:
\(\qquad \qquad RQD = \) chỉ số chất lượng đá, tính bằng phần trăm
Bảng 5-12: Các hệ số hình dạng và độ cứng, \(C_d\), dùng để tính độ lún tại các điểm trên
diện tích chịu tải ở bề mặt bán không gian đàn hồi có chiều sâu vô hạn (theo Winterkorn & Fang, 1975)
| Hình dạng | Tâm | Góc | Giữa cạnh ngắn | Giữa cạnh dài | Trung bình |
|---|---|---|---|---|---|
| Hình tròn | 1.00 | 0.64 | 0.64 | 0.64 | 0.85 |
| Hình tròn (cứng) | 0.79 | 0.79 | 0.79 | 0.79 | 0.79 |
| Hình vuông | 1.12 | 0.56 | 0.76 | 0.76 | 0.95 |
| Hình vuông (cứng) | 0.99 | 0.99 | 0.99 | 0.99 | 0.99 |
| Hình chữ nhật (chiều dài/chiều rộng): | |||||
| 1.5 | 1.36 | 0.67 | 0.89 | 0.97 | 1.15 |
| 2 | 1.52 | 0.76 | 0.98 | 1.12 | 1.30 |
| 3 | 1.78 | 0.88 | 1.11 | 1.35 | 1.52 |
| 5 | 2.10 | 1.05 | 1.27 | 1.68 | 1.83 |
| 10 | 2.53 | 1.26 | 1.49 | 2.12 | 2.25 |
| 100 | 4.00 | 2.00 | 2.20 | 3.60 | 3.70 |
| 1000 | 5.47 | 2.75 | 2.94 | 5.03 | 5.15 |
| 10000 | 6.90 | 3.50 | 3.70 | 6.50 | 6.60 |
\(\\\)
Bảng 5-13: Tóm tắt hệ số Poisson cho đá nguyên khối (AASHTO, điều chỉnh theo Kulhawy, 1978).
| Loại đá | Số lượng giá trị | Số lượng loại đá | Hệ số Poisson, ν | Độ lệch chuẩn | ||
|---|---|---|---|---|---|---|
| Lớn nhất | Nhỏ nhất | Trung bình | ||||
| Granit | 22 | 22 | 0.39 | 0.09 | 0.20 | 0.08 |
| Gabro | 3 | 3 | 0.20 | 0.16 | 0.18 | 0.02 |
| Diabas | 6 | 6 | 0.38 | 0.20 | 0.29 | 0.06 |
| Bazan | 11 | 11 | 0.32 | 0.16 | 0.23 | 0.05 |
| Quartzit | 6 | 6 | 0.22 | 0.08 | 0.14 | 0.05 |
| Đá cẩm thạch | 5 | 5 | 0.40 | 0.17 | 0.28 | 0.08 |
| Gơnai | 11 | 11 | 0.40 | 0.09 | 0.22 | 0.09 |
| Phiến thạch | 12 | 11 | 0.31 | 0.02 | 0.12 | 0.08 |
| Sa thạch | 12 | 9 | 0.46 | 0.08 | 0.20 | 0.11 |
| Bột kết | 3 | 3 | 0.23 | 0.09 | 0.18 | 0.06 |
| Sét kết | 3 | 3 | 0.18 | 0.03 | 0.09 | 0.06 |
| Đá vôi | 19 | 19 | 0.33 | 0.12 | 0.23 | 0.06 |
| Đá dolomit | 5 | 5 | 0.35 | 0.14 | 0.29 | 0.08 |
\(\\\)
Bảng 5-14: Tóm tắt môđun Young cho đá nguyên khối (điều chỉnh theo Kulhawy, 1978).
| Loại đá | Số lượng số liệu | Số lượng loại đá | Mô đun đàn hồi, EIR (kPa x 106) |
Độ lệch chuẩn | ||
|---|---|---|---|---|---|---|
| Lớn nhất | Nhỏ nhất | Trung bình | ||||
| Granit | 26 | 26 | 99.97 | 6.41 | 52.67 | 24.48 |
| Diorit | 3 | 3 | 111.69 | 17.10 | 51.36 | 42.68 |
| Gabro | 3 | 3 | 84.11 | 67.57 | 75.84 | 6.69 |
| Diabas | 7 | 7 | 104.11 | 68.95 | 88.25 | 12.27 |
| Bazan | 12 | 12 | 84.11 | 28.96 | 56.12 | 17.93 |
| Quartzit | 7 | 7 | 88.25 | 36.47 | 66.12 | 16.00 |
| Đá cẩm thạch | 14 | 13 | 73.77 | 4.00 | 42.61 | 17.17 |
| Gơnai | 13 | 13 | 82.05 | 28.47 | 61.09 | 15.93 |
| Slate | 11 | 2 | 26.13 | 2.41 | 9.58 | 6.62 |
| Phiến thạch | 13 | 12 | 68.95 | 5.93 | 34.27 | 21.92 |
| Phyllite | 3 | 3 | 17.31 | 8.62 | 11.79 | 3.93 |
| Sa thạch | 27 | 19 | 39.16 | 0.62 | 14.69 | 8.20 |
| Bột kết | 5 | 5 | 32.82 | 2.62 | 16.48 | 11.38 |
| Sét kết | 30 | 14 | 38.61 | 0.01 | 9.79 | 10.00 |
| Đá vôi | 30 | 30 | 89.63 | 4.48 | 39.30 | 25.72 |
| Đá dolomit | 17 | 16 | 78.60 | 5.72 | 29.10 | 23.72 |
(slate và phyllite là gì?)
Slate: đá phiến sét
Phyllite: đá phyllit hoặc đá phiến lục
Giải thích ngắn:
- Slate là đá biến chất cấp thấp, hạt rất mịn, có tính tách thành các phiến mỏng khá rõ.
- Phyllite là đá biến chất cao hơn slate một bậc, vẫn có cấu tạo phiến nhưng bề mặt thường có ánh lụa nhẹ do khoáng mica mịn.
Thứ tự gần đúng trong dãy biến chất là:
shale → slate → phyllite → schist
Có thể áp dụng các hiệu chỉnh bổ sung cho những điều kiện địa chất phức tạp. NHI Shallow Foundations Workshop Reference Manual (Munfakh và nnk., 2000) có thảo luận về các điều kiện đá phân lớp và dị hướng, cũng như các phương pháp hiệu chỉnh phép tính biến dạng.
Mô đun đàn hồi của IGM và một số loại đá có thể được xác định bằng thí nghiệm hiện trường với các thiết bị như pressuremeter, flat dilatometer, thí nghiệm bàn nén hoặc flat jack. Người đọc được dẫn chiếu đến các ấn phẩm của FHWA, gồm The Pressuremeter Test for Highway Applications (FHWA-IP-89-008) và The Flat Dilatometer Test (FHWA-SA-91-044), hoặc tiêu chuẩn thí nghiệm ASTM tương ứng để biết chi tiết về khả năng áp dụng và cách diễn giải số liệu thí nghiệm hiện trường.
(thí nghiệm hiện trường pressuremeter, flat dilatometer, flat jack…)
Các thí nghiệm đó đều là thí nghiệm hiện trường để xác định biến dạng/độ cứng của đất đá, đặc biệt để ước tính mô đun đàn hồi. Khác nhau chủ yếu ở cách gia tải và đối tượng áp dụng.
1. Pressuremeter
- Là thí nghiệm đặt một đầu dò hình trụ vào hố khoan, rồi bơm áp lực ra xung quanh thành hố.
- Đo quan hệ giữa áp lực và độ giãn nở hướng kính của thành hố.
- Từ đó suy ra độ cứng biến dạng, áp lực giới hạn, và một số chỉ tiêu ứng xử của đất hoặc đá mềm.
- Thường hữu ích khi muốn đánh giá ứng xử tại chỗ, ít bị xáo trộn mẫu hơn so với lấy mẫu đem về phòng.
2. Flat dilatometer
- Là thí nghiệm dùng một lưỡi thép dẹt có màng thép mỏng, ép xuống đất rồi bơm màng phồng ra.
- Đo áp lực cần để màng bắt đầu dịch chuyển và dịch chuyển đến mức xác định.
- Chủ yếu dùng cho đất, nhất là đất hạt mịn đến hạt rời; từ đó suy ra độ cứng, trạng thái ứng suất, mức độ cố kết…
- Với đá thì ít điển hình hơn pressuremeter, nhưng đoạn bạn gửi đang nói rộng hơn về các phương pháp hiện trường để suy ra mô đun.
3. Plate load test
- Đặt một bàn thép lên bề mặt nền hoặc đáy hố đào, rồi gia tải từng cấp.
- Đo độ lún tương ứng của bàn nén.
- Từ đường quan hệ tải trọng–độ lún có thể ước tính:
- sức chịu tải,
- mô đun biến dạng,
- đặc trưng lún của nền tại chỗ.
- Đây là thí nghiệm khá trực quan vì mô phỏng gần với việc móng truyền tải xuống nền.
4. Flat jack
- Thường dùng nhiều trong đá hoặc khối xây. Người ta tạo một khe/cắt rãnh trong đá hay kết cấu, rồi đặt kích dẹt vào đó để bơm áp.
- Khi bơm áp, flat jack tác dụng lực lên bề mặt khe; từ quan hệ áp lực–biến dạng có thể suy ra ứng suất tại chỗ hoặc mô đun biến dạng.
- Trong đá, nó hay được dùng để đánh giá ứng xử biến dạng của khối đá gần mặt lộ hoặc trong hầm.
Hiểu rất ngắn gọn:
- Pressuremeter: ép nở ra thành hố khoan
- Flat dilatometer: ép phồng màng trên lưỡi dẹt
- Plate load test: nén bằng bàn tải trên mặt nền
- Flat jack: kích dẹt trong khe/rãnh
Ngoài ra, một số giá trị mô đun cũng có thể lấy từ các nhà nghiên cứu khác nhau theo từng loại đá. Các nguồn gồm Bieniawski (1984, 1989), Kulhawy (1975), và Lama và Vutukuri (1978). Bảng 5-13 và 5-14 tổng hợp các giá trị khuyến nghị cho hệ số Poisson và mô đun đàn hồi như được trình bày trong AASHTO (1996) và được hiệu chỉnh theo Kulhawy (1978).
5.4 Trượt và ổn định ngang
Móng nông sẽ chống lại tải trọng ngang bằng sự kết hợp giữa sức kháng cắt dọc theo đáy móng và áp lực đất ngang phát triển ở phía trước móng theo hướng tác dụng của tải trọng. Sức kháng cắt dọc theo đáy móng sẽ phát triển đến toàn bộ khả năng chịu lực của nó tại các chuyển vị rất nhỏ. Áp lực đất ngang này được gọi là “sức kháng bị động” và cần các chuyển vị lớn hơn nhiều để phát triển đầy đủ sức kháng bị động. Đến thời điểm sức kháng bị động được huy động hoàn toàn, sức kháng cắt có thể đã được huy động hoàn toàn và thậm chí có thể đã giảm xuống một giá trị dư nào đó nhỏ hơn sức kháng cắt cực đại. Vì lý do này, thiết kế của hầu hết các móng nông thường bỏ qua sức kháng bị động theo hướng bảo thủ.
Sức kháng trượt giữa đáy của móng nông và đất hạt rời sẽ được chi phối bởi hệ số ma sát (tan δ) phát triển giữa đất nền bên dưới móng và móng. Giá trị của hệ số ma sát là một hàm của loại đất và độ nhám của móng. Đối với móng bê tông đổ trực tiếp lên vật liệu đất dính hoặc đất hạt rời, hệ số ma sát, tan δ, sẽ bằng tang của góc ma sát (tan \(phi\)) của lớp đất đỡ móng. Nếu đáy móng được làm bằng vật liệu nào đó khác với bê tông đổ trực tiếp lên nền đất, thì hệ số ma sát (tan δ) không chỉ là đặc trưng của đất mà còn là hàm của loại vật liệu làm móng và độ nhám của nó. Khi không có số liệu cụ thể, có thể dùng Bảng 5-15 để ước tính hệ số ma sát giữa đất và các loại vật liệu móng khác nhau.
Bảng 5-15: Hệ số ma sát cực hạn cho vật liệu khác nhau (NAVFAC, 1986B)
| Vật liệu tiếp xúc | Hệ số ma sát, tan δ | Góc ma sát, δ (độ) |
|---|---|---|
| Bê tông khối đặt trên các vật liệu sau: | ||
| Đá sạch, nguyên khối, chắc | 0.70 | 35 |
| Sỏi sạch, hỗn hợp cát sỏi, cát thô | 0.55 đến 0.60 | 29 đến 31 |
| Cát sạch hạt mịn đến trung bình, cát bụi hạt trung bình đến thô, sỏi lẫn bụi hoặc sét | 0.45 đến 0.55 | 24 đến 29 |
| Cát sạch hạt mịn, cát hạt mịn đến trung bình lẫn bụi hoặc sét | 0.35 đến 0.45 | 19 đến 24 |
| Bụi cát mịn, bụi không dẻo | 0.30 đến 0.35 | 17 đến 19 |
| Đất sét dư hoặc đất sét tiền cố kết rất cứng và cứng | 0.40 đến 0.50 | 22 đến 26 |
| Đất sét dẻo cứng vừa và cứng, và đất sét pha bụi (khối xây đặt trên vật liệu móng có cùng hệ số ma sát) |
0.30 đến 0.35 | 17 đến 19 |
Nếu đáy móng đặt trên đất sét, sức kháng trượt sẽ bị giới hạn bởi lực dính bám phát triển giữa bề mặt chịu lực của móng và vật liệu chịu lực dính kết, \(c_a\). Trong thực tế, \(c_a\) thường được lấy bằng cường độ kháng cắt không thoát nước (lực dính, \(c_u\)) của đất sét.
Phương trình tổng quát của sức kháng trượt đối với móng có bề mặt chịu lực phẳng trên vật liệu ma sát (thoát nước) là:
\[F_R = (W + P_v)\tan\delta \tag{5-38}\]
trong đó:
\(\qquad \qquad F_R = \) sức kháng trượt tới hạn
\(\qquad \qquad W = \) trọng lượng bản thân móng và đất đắp phía trên móng
\(\qquad \qquad P_v = \) tải trọng tác dụng lên đỉnh móng
\(\qquad \qquad \delta = \) góc ma sát giữa đáy móng và vật liệu chịu lực ma sát
Phương trình tổng quát của sức kháng trượt đối với móng có bề mặt chịu lực phẳng trên vật liệu dính kết (không thoát nước) là:
\[F_R = c_a B_f \tag{5-39} \]
trong đó:
\(\qquad \qquad F_R = \)sức kháng trượt tới hạn
\(\qquad \qquad c_a = \) lực dính bám giữa đáy móng và vật liệu chịu lực dính kết
\(\qquad \qquad B_f = \) bề rộng móng
Vì điều kiện thoát nước và không thoát nước sẽ không xảy ra đồng thời, nên không được kết hợp đồng thời Công thức 5-38 và 5-39 khi tính toán.
Khi thiết kế móng cầu, phải dùng hệ số an toàn chống trượt tối thiểu bằng 1.5:
\[ FS_{\text{sliding}}=\frac{F_R}{F_{\text{sliding}}}\geq 1.5 \tag{5-40} \]
trong đó:
\(\qquad \qquad FS_\text{sliding} = \) hệ số an toàn đối với trượt
\(\qquad \qquad F_R = \) sức kháng trượt tới hạn
\(\qquad \qquad F_\text{sliding} = \) tổng các tải trọng ngang có xu hướng làm móng bị trượt
Các Công thức 5-38 và 5-39 giả thiết rằng bề mặt đáy của móng là phẳng. Nếu sức kháng trượt xác định theo Công thức 5-39 đối với móng đặt trên đất sét là không đủ, thì cần tăng bề rộng móng để cung cấp thêm sức kháng trượt. Nếu bề rộng móng trở nên không thực tế xét về mặt kinh tế hoặc khả năng thi công, có thể xem xét bố trí key thi công bên dưới bề mặt chịu lực của móng. Một cấu hình điển hình của key được thể hiện ở Hình 5-22. Key thường khó thi công trong khi vẫn duy trì được sức kháng cắt nguyên trạng của đất nằm kề bên key.
Trên thực tế, key thi công trong đất hạt rời không phát huy hiệu quả cao trong việc tạo ra áp lực bị động phía trước key. Do cần có chuyển vị đủ lớn để phát triển áp lực bị động như đã mô tả ở trên, nên sức kháng cắt do ma sát sẽ đã được huy động hoàn toàn trước đó. Tác dụng của key trong đất hạt rời vì vậy được xem là làm tăng chiều dài hữu hiệu của bề mặt kháng cắt thì phù hợp hơn.
Đối với đất sét cứng, quá cố kết và đá mềm, phần sức kháng bổ sung do key cung cấp có thể được tính theo Hình 5-22 và Công thức 5-41.

Phương trình tổng quát của sức kháng trượt đối với móng đặt trên đất dính có bố trí key là:
\[ F_R = c_a(B_f-\overline{a_1b}) + c_u(\overline{a_1b}) + P_p \tag{5-41} \]
trong đó:
\(\qquad \qquad F_R = \)sức kháng trượt tới hạn
\(\qquad \qquad c_a = \) lực dính bám giữa đáy móng và vật liệu chịu lực dính kết
\(\qquad \qquad B_f = \) bề rộng móng
\(\qquad \qquad \overline{a_1b} = \) khoảng cách từ điểm \(a_1\) đến điểm \(b\)
\(\qquad \qquad c_u = \) cường độ kháng cắt không thoát nước của đất dính
\(\qquad \qquad P_p = \) lực kháng bị động
5.5 Ổn định tổng thể
Ổn định tổng thể của móng nông cần được đánh giá khi hình học bề mặt nền theo bất kỳ phương nào ra xa khỏi móng cho thấy rằng các giả thiết gắn với lý thuyết sức chịu tải dùng để tính sức chịu tải của móng không còn phù hợp, và ứng suất do tải trọng truyền qua móng đang tác dụng theo hướng làm mất ổn định hình học mái dốc. Hình 5-23 minh họa các cấu hình mái dốc và vị trí đặt móng có thể làm tăng hoặc làm suy giảm ổn định tổng thể của mái dốc.

(a) Móng làm ổn định mái dốc, (b) Móng làm mất ổn định mái dốc
Trong những trường hợp mà ứng suất do móng truyền xuống có xu hướng làm mất ổn định mái dốc, ổn định tổng thể của móng cần được kiểm tra bằng các phương pháp cân bằng giới hạn như phương pháp phân mảnh (method of slices) (Bishop, 1955; hoặc Spencer, 1967).
Hướng dẫn chi tiết cho việc đánh giá ổn định mái dốc không được trình bày trong tài liệu hướng dẫn này. Soils and Foundation Workshop Reference Manual (Cheney & Chassie, 2000) có trình bày những nội dung cơ bản về phân tích ổn định mái dốc, bao gồm cả ảnh hưởng của móng chịu tải nằm trong mái dốc. Tài liệu tham khảo TRB Special Report 247: Landslides, Investigation and Mitigation (TRB, 1996) có trình bày chi tiết hơn về phân tích ổn định tổng thể của mái dốc.
Hỗ trợ duy trì trang:
Tôi xây dựng trang này để chia sẻ các tài liệu kỹ thuật cốt lõi trong thiết kế hạ tầng giao thông.
Nếu bạn thấy nội dung hữu ích và muốn góp phần duy trì trang hoạt động bền vững, tôi rất trân trọng mọi sự ủng hộ.